Skip to content

Фотогалерея

  • Главная
  • Контакты

Сенсорный регулятор освещения схема

Схема сенсорного регулятора освещения с блокировкой » S-Led.Ru ...

Схема сенсорный регулятор света

Сенсорный регулятор освещения с дистанционным управлением. Схема, описание

Сенсорный регулятор освещения

Схема сенсорного регулятора освещения

Сенсорный регулятор освещения (К145АП2)

Сенсорный регулятор освещения - TT6061A, TT8486A

Сенсорный регулятор освещения с акустическим реле - Электроника в быту ...

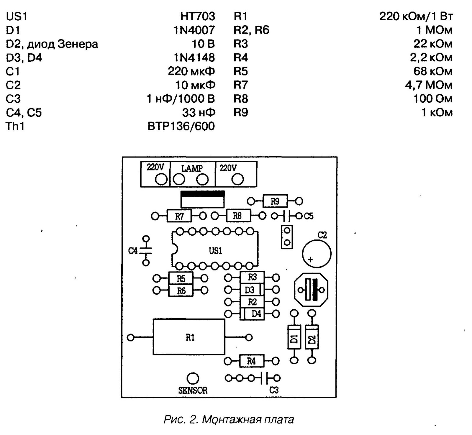
Регулятор освещения со ступенчатым сенсорным управлением (НТ703)

Регулятор яркости системы освещения на трех светодиодных лентах ...

Емкостной сенсорный датчик, электрическая схема, печатная плата ...

Регулятор освещения с дистанционным управлением - Микроконтроллеры и ...

Сенсорный регулятор освещения (диммер) Sensy на PIC10F200 - Мои статьи ...

Сенсорный выключатель света своими руками — схема

Дистанционно управляемый регулятор освещения — Gnativ.ru

Сенсорный PWM регулятор - Схемы радиолюбителей

Схема выключателя освещения с сенсорным управлением (К561ТМ2, КП501)

Сенсорный выключатель: принцип работы, особенности установки и схемы

Заметки для мастера - Сенсорный регулятор освещения

Регулятор освещения - схема

Схема сенсорный выключатель к145ап2

СЕНСОРНЫЙ РЕГУЛЯТОР МОЩНОСТИ - РМС

Сенсорный выключатель освещения

Сенсорный регулятор освещения

Сенсорный выключатель: принцип работы, особенности установки и схемы

Плавное включение и выключение светодиодов

Сенсорный выключатель света 220в: как подключить, схема, как работает

Контактный регулятор освещения

Регулятор освещения | NiceTV

Схема сенсорного выключателя: Как собрать сенсорный выключатель своими ...

Простой регулятор освещения

Технический форум - Показать сообщение отдельно - Сенсорный выключатель ...

Регулировка яркости светодиодов

Схема сенсорный выключатель к145ап2

Сенсорный регулятор мощности. Схема, описание

  • Вперед Виджи спорт программа
  • Назад Стук тросика сцепления калина

Новые страницы

Без вертикальной синхронизации дергается изображение в играх

Доверенность на несовершеннолетнего ребенка другому лицу по россии образец

Fitness house наличная 44

Гдз математика 4 класс 2 часть 193

Гдз по английскому 4 класс рабочая тетрадь сборник упражнений

Гдз по английскому 5 класс стр 102 упр 2

Гдз по русскому 5 класс ладыженская упр 709

Карта европы со странами крупно на русском и городами на русском

Картинки иллюстрации к сказке каша из топора

Компьютерная диагностика порше

Кудыкина гора кемпинг

Масло в расширительном бачке охлаждающей жидкости

Ослик нарисовать пошагово

Пилот группа

Пружинный клапан

Разъем pl259

Рисунок водитель за рулем грузовика

Сколько стоит поменять газовый счетчик в квартире

Спасибо за внимание по химии картинки для презентации

Спортмастер псков каталог

Стимпанк коты картинки

Сумка на пластиковой канве схемы

Таганрог море пляжи

Технадзор видное

Технология икт

Тейпирование лопатки и плеча при болях схема

В древней греции

Включи картинки змей

Ввод числа блок схема

Заявление на три дня в связи со смертью родственника образец

cdn.zecar.ru