Skip to content

Фотогалерея

  • Главная
  • Контакты

Радиочип 7708

LEGO® Exo-Force Uplink 7708 • 🇵🇱 Porównywarka cen klocków

a drawing of a person wearing a hat

Jansite TS10S UIS7862S. | 15 000 ₽ в городе Санкт-Петербург | DRIVE2

Pixilart - Gamma sword by Ava-inventory-v

Korean Celebrities, Celebrities Female, Celebs, Korean Actresses ...

Kurt Cobain Quotes, Nirvana Kurt Cobain, Nirvana Members, Kurt And ...

0xVulcan’s Profile - Bugcrowd

GENESIS NUEVA.ENCHUFE 10A SEGURIDAD. MARRON 7708

Shaft , Waspo Water Pumps

Gestrickter Wollschal in Spicy von Zilch – Charlotte P.

Shaft , Waspo Water Pumps

Realistic depiction of a tropical beach with palm trees on Craiyon

АМЕТИСТОВИЙ ВАРТОВИЙ ЧОРТИК (фіолетовий) – Craft Cards

DISTRIBUTOR[ (7701-7708)2TC ] TOYOTA COROLLA [KE3#,50,TE3#,51] (NORTH ...

Pin on cabelos

Shaft , Waspo Water Pumps

Mil , Waspo Su Pompalar

Implant Grade Titanium Black PVD Braided Twisted Hinged Clicker Hoop ...

Front Cross Bikini Top Pink | NA-KD

Galería de Casa Catorce / Yiyicaru Arquitectos - 12

Private Market Players: An Introduction | Hamilton Lane

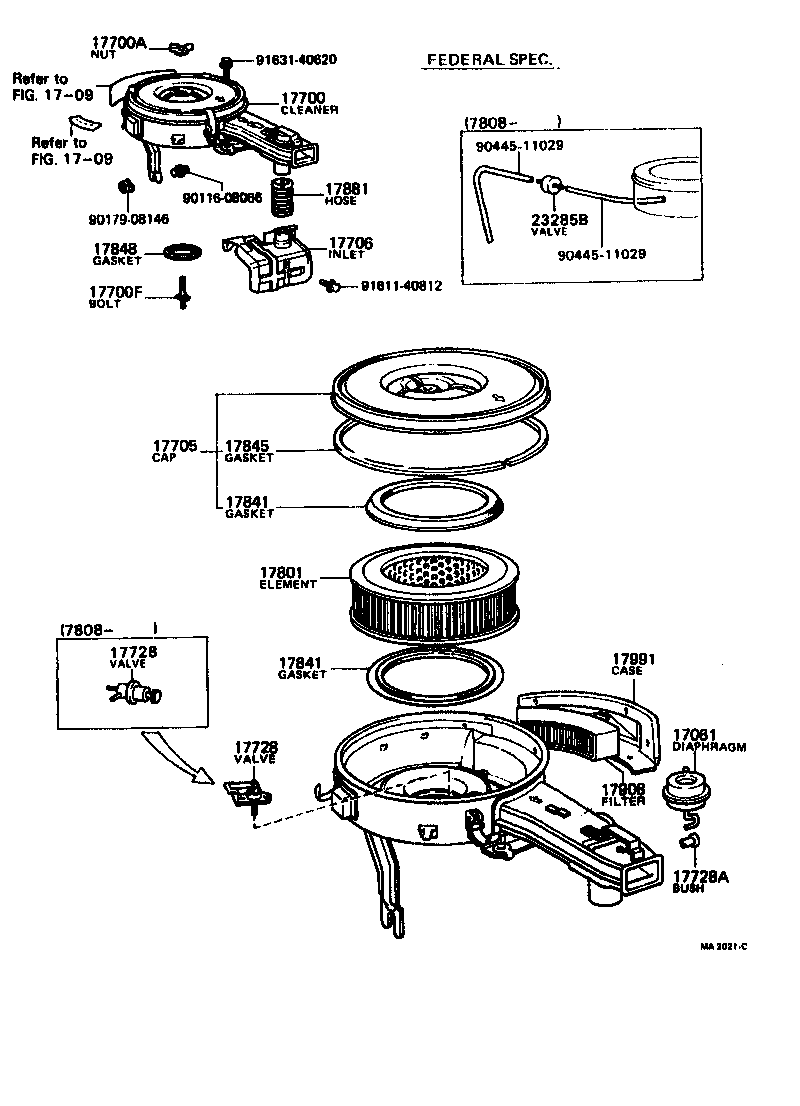
AIR CLEANER[ (7708-7908)2TC ] TOYOTA COROLLA [KE3#,50,TE3#,51] (NORTH ...

Замена штатной магнитолы на ШГУ на андроиде Asottu HY603(часть1 ...

Implant Grade Titanium Marquise Cluster White CZ Threadless Push In ...

Fake Faux Clip On Tribal 925 Sterling Silver 3 Wire Nose Hoop Ring ...

Implant Grade Titanium Black PVD Beaded Tribal Hinged Septum Ring Hoop ...

Fred Perry Flocked Laurel Wreath Tee - T-Shirts - Boozt.com

ISO 7708:1995

Apple Podcast:《澤爸的【親子對話】》〈EP184 - 如何陪伴數位化世代的孩子成長 ft. 王怡婷〉

Stabilizator bez noska - EB Akcesoria Meblowe

Cartoon of ma allegri with exaggerated features on Craiyon

Замена штатной магнитолы на Asottu — KIA Picanto (3G), 1,2 л, 2017 года ...

two men in costumes standing next to each other

Meshtastic – оперативно-тактический радиочат без сотовой связи и ...

Замена штатной магнитолы на ШГУ на андроиде Asottu HY603(часть1 ...

  • Вперед Ремонт ноутбука msi в москве
  • Назад Водоочистка для частного дома

Новые страницы

Акт приема передачи машины водителю образец

Citroen spacetourer или volkswagen caravelle

Дэу нексия краснодар

Еще не родила приколы картинки

Генплан мурино до 2025 посмотреть с изменениями карта

Иатэ нияу мифи официальный сайт обнинск

Insite cummins скачать

Как подписаться на рассылку спортмастер

Как проверить тарифный план на а1 самостоятельно с телефона

Как снять шаровую опору без съемника

Как включить блютуз на фитнес браслете

Миигаик московский государственный университет геодезии и картографии

Министерство труда и спорта

Монтаж выключателей освещения

Не держит ручной тормоз

Образец возражения на апелляционную жалобу по уголовному делу от потерпевшего

Почему электрическое поле заряженных частиц не способно поддерживать постоянный

Рак лимфоузлов 4 степени сколько живут

Регулятор перепада давления dpr

Серьги с перьями

Шахматная доска картинка для печати

Схема чистяковской рощи в краснодаре

Схема метро москвы 2023г на карте

Схема сборки бани

Штопка ру

Учебник по математике ответы

Улица ленина омск достопримечательности

Условные обозначения в схемах чертежей

Замена антифриза на кайроне дизель

Замена стекла 5s

cdn.zecar.ru