Skip to content

Фотогалерея

  • Главная
  • Контакты

Прокладки карбюратора озон

Прокладки биконитовые карбюратора автомобиля ТАВРИЯ

Правильная установка прокладки между карбюратором и впускным ...

Прокладки карбюратора Libero & Domingo. - Клуб любителей микроавтобусов ...

Прокладки карбюратора Libero & Domingo. - Клуб любителей микроавтобусов ...

Расточка и планировка карбюратора ОЗОН - YouTube

Карбюраторы двигателей легковых автомобилей

Принцип действия карбюратора: Общее устройство карбюратора, схема и ...

Прокладка карбюратора В - ремонт и сервисное обслуживание

Ускорительный насос карбюратора - устройство, ОЗОН, СОЛЕКС. - YouTube

Ремкомплект карбюратора 63V-W0093-00

Прокладки для карбюратора ДААЗ "ОЗОН" НЕ ИЗ КАРТОНА!!! - YouTube

Ремкомплект карбюратора 63V-W0093-00

Замена карбюратора Озон на Солекс подробно, ВАЗ 2104. - YouTube

💥 КАРБЮРАТОР ОЗОН 2107. ПУСКОВОЕ УСТРОЙСТВО. РЕГУЛИРОВКА. - YouTube

Карбюратор для бензогенератора с газовым редуктором 5-7 кВт 192F ...

Ремкомплект Карбюратора Мотокосы Полный — Купить Недорого на Bigl.ua ...

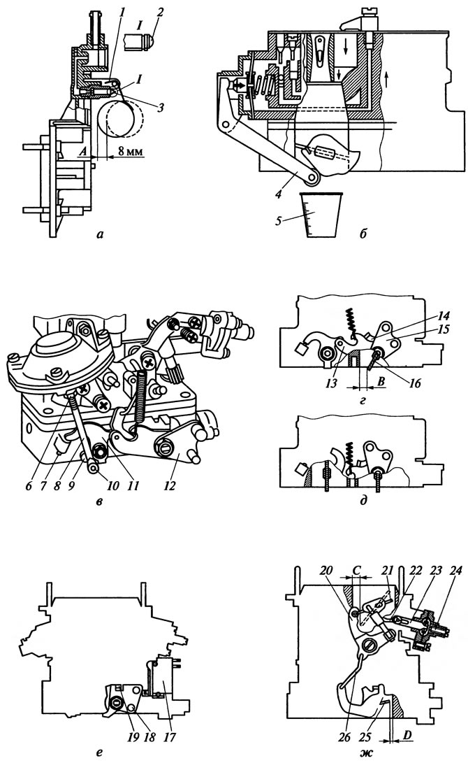
Карбюратор озон: устройство, ремонт, настройка

Переходник карбюратора (проставка) триммера (бензокосы) тексто...: цена ...

Ремонт карбюратора типа «ОЗОН» (Ремонт и обслуживание моторов ...

Набор для тестирования топливного насоса карбюратора JTC-4683 — купить ...

Оснастка для садовой техники Теплоизолятор патрубок карбюратора ...

Blog Archives - friendschat

Схема подключения шлангов карбюратора к151д змз 406 - фото

РАЗБОРКА И ЧИСТКА КАРБЮРАТОРА ОЗОН - ВНИМАНИЕ!!! - YouTube

Прокладка карбюратора 2 для бензогенератора, мотокультиватора ...

Карбюратора 2107 прокладка – Карбюратора 2107 прокладка - Тюнинг ВАЗ ...

Сборочные единицы карбюратора автомобилей ЗИЛ-138

Карбюратор озон: устройство, ремонт, настройка

Карбюратор ОЗОН 2140. Часть 2. Крышка - YouTube

Рычаги Карбюратора Мотоблок 168F/170F Бензин 6,5-7 Л.с — в Категории ...

Настройка карбюратора озон для нивы

💥 РЕМОНТ КАРБЮРАТОРА ОЗОН 2107 ПОДРОБНО. ЭКОНОМИЧНЫЕ ЖИКЛЕРЫ. - YouTube

Карбюратор ОЗОН 2140. Часть 5. Сборка - YouTube

Пневмопривод карбюратора ОЗОН. - YouTube

Что влияет на холостой ход карбюратора ОЗОН. - YouTube

  • Вперед Дизайн узкого двора частного дома
  • Назад Картинки со звуковыми схемами

Новые страницы

2Т803а характеристики

Адаптация двигателя пежо 308

Алгоритм бога для кубика рубика 3х3 схема

Английские топики спорт

Английский язык 5 класс рабочая тетрадь ваулина ответы с переводом

Аспирантура нпи

Гдз по английскому языку 5 класс учебник ваулина 2015

Гдз по математике 6 класс 1348

Гдз по математике страница 51 номер 5

График давления человека образец

Хватит обижаться картинки

Is there butter in the fridge

Как нарисовать прозрачный круг в фотошопе

Картинку посмотреть момо

Кц сайдаш казань схема зала

Кнопка противотуманных фар распиновка контактов

Лечение глаукомы без операции

Литературное чтение 3 класс рабочая тетрадь ответы ефросинина

Массаж точки джи

Морфологический наречия

Напишите схему соответствующей реакции

Pci bus

Pycharm

Работа монтажники ворот

Решебник по английскому девятый класс

Рисунки антон шастун и арсений попов

Схемы и описания пинеток

Сирена сигнальная ас 24

Услуга вывоз старой мебели

Заказать автобус на экскурсию для школьников

cdn.zecar.ru