Skip to content

Фотогалерея

  • Главная
  • Контакты

При хранении бревен их укладывают 15

Линия раскряжевки бревен автоматизированная - YouTube

Простейший держатель для любых бревен, который облегчит их распил ...

Простейший держатель (зажим) для бревен брусьев досок который облегчит ...

Как работает гидравлический модуль сброса бревен на линии сортировки ...

Соединение бревен в обло - фото

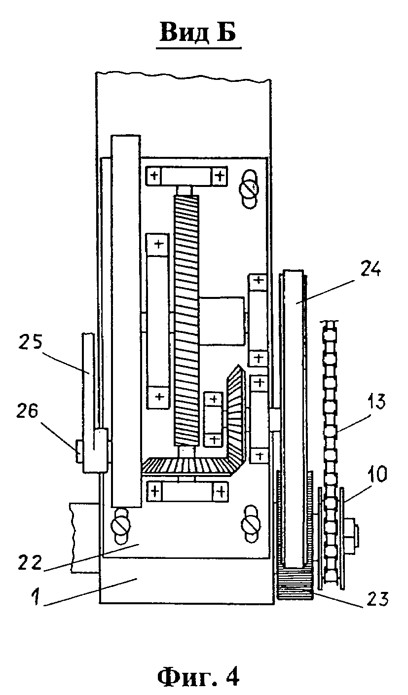
Разворотное устройство для бревен - 90 фото

Разворотное устройство для бревен - 90 фото

Разворотное устройство для бревен - 90 фото

Разворотное устройство для бревен - 90 фото

Большой деревянный молоток для укладки бревен 98 фото

Бревен разбор по составу - 94 фото

Презентация по изо 6 кл пейзаж в русской живописи

Устройство из бревен эстакад - 81 фото

Разворотное устройство для бревен - 90 фото

Разворотное устройство для бревен - 90 фото

Разворотное устройство для бревен - 90 фото

Строительство Домов из Рубленного Бревна в Кирове-2019 | СК "Рубовой"

Долговременная укладка бровей Процедура долговременной укладки бровей ...

Таблица по определению объема бревен - 90 фото

Размножение винограда черенками - nordvitis.ru

Таблица по определению объема бревен - 90 фото

Древесина топливная в виде бревен - 80 фото

Древесина топливная в виде бревен - 80 фото

Способы раскроя бревен на пиломатериалы и виды пилопродукции - фото

Как сделать быка из бревен - 82 фото

Способы раскроя бревен на пиломатериалы и виды пилопродукции - 82 фото

Устройство лежневой дороги с настилом из бревен - фото

(Решено)Упр.204 ГДЗ Колягин Ткачёва 9 класс по алгебре

Кот в сапогах нарисовать рисунок для 2 класса карандашом

Кот в сапогах нарисовать рисунок для 2 класса карандашом

Сиденье для садовых качелей своими руками из дерева чертежи

Сиденье для садовых качелей своими руками из дерева чертежи

Презентация по изо 6 кл пейзаж в русской живописи

  • Вперед График разморозки холодильника санпин образец
  • Назад План тренировок по антитеррористической защищенности объекта образец

Новые страницы

Алгебра 8 класс 662

Алгебра 8 класс мерзляк номер 820

Анализ стихотворения блока я хочу безумно жить

Английский язык учебник 10 класс гдз

Автосервис каскад кирово чепецк

Болячки соляриса

Бурсит на пятке лечение

Деепричастие на тему спорт

Демонстрационный материал по математике в детском саду картинки средняя группа

День победы как праздник

Гдз по русскому ладыженская девятый класс

Как нарисовать гипсовую голову поэтапно для начинающих

Консультация психолога в москве

Крючок для вязки арматуры своими руками чертежи размеры фото

Квадрант гартнера

Митохондрии пластиды клеточный центр органоиды движения клеточные включения презентация 9 класс

На диаграмме показано содержание питательных веществ в сухарях определите по диаграмме сколько 100г

Наградной лист на почетного работника образования образец

Ножи из германии

Образец заявления на выдачу копии судебного приказа

Рымкевич физика 10 11

Рисовать по клеточкам смайлы

Рисунки путеводной звезды

Сальвадор дали молодой

Спайс джем

Tr6132 bf магнитола распиновка

Труба цельнотянутая

Удачи тебе картинки женщине красивые анимационные картинки

Ваз 2106 регулировка зажигания

Животные и насекомые австралии

cdn.zecar.ru