Skip to content

Фотогалерея

  • Главная
  • Контакты

Передача сигнала

Передача сигнала на двигательных концевых пластинках обеспечивается ...

Передача сигнала по оптическому кабелю - презентация онлайн

Передача сигнала в нейронах - презентация онлайн

Передача сигнала в нейронах - презентация онлайн

Передача сигнала по оптическому кабелю - презентация онлайн

Передача сигнала в нейронах - презентация онлайн

Передача сигнала по оптическому кабелю - презентация онлайн

Передача сигнала по оптическому кабелю - презентация онлайн

передача-сигнала-тревоги | ГЛОНАСС Телематика

во что рецепторы преобразуют сигналы извне

Передача сигнала. Цифровые оптоволоконные системы

Методы формирования однополосного сигнала - YouTube

передача и прием сигнала ардуино+беспроводная сигнализация

Передача сигнала с помощью мембранных рецепторов.

Метаболизм углеводов. Регуляция. Нарушения. (Лекция 6) - презентация онлайн

Передача сигнала по кабелю витой пары: все pro et contra

Передача и прием сигнала

HF/2: Передача сигнала - YouTube

Синапс. Классификация синапсов - презентация онлайн

ПЕРЕДАЧА СИГНАЛА ПО ГОРИЗОНТАЛЕ И ВЕРТИКАЛЕ - ОСНОВЫ РЕДСТОУНА 3/3 ...

Передача сигнала по оптическому каналу - Работаем с ПЛИС, области ...

Основы нейрофизиологии - презентация онлайн

Межклеточные сигнальные вещества - презентация онлайн

Купить Samsung BN59-01363L в кредит в Алматы – Kaspi Магазин

Презентация "Передача информации"

Регуляция обмена веществ - презентация онлайн

qt - Передача сигнала через интерфейс - Stack Overflow на русском

Коаксиальный кабель Передача данных Электрический кабель Электрический ...

Действия населения при подаче сигнала "Внимание всем!"

Передача клеточных сигналов. Апоптоз - презентация онлайн

Многообразие внутриклеточных каскадов в клетке - презентация онлайн

Передача сигнала (биология) | это... Что такое Передача сигнала (биология)?

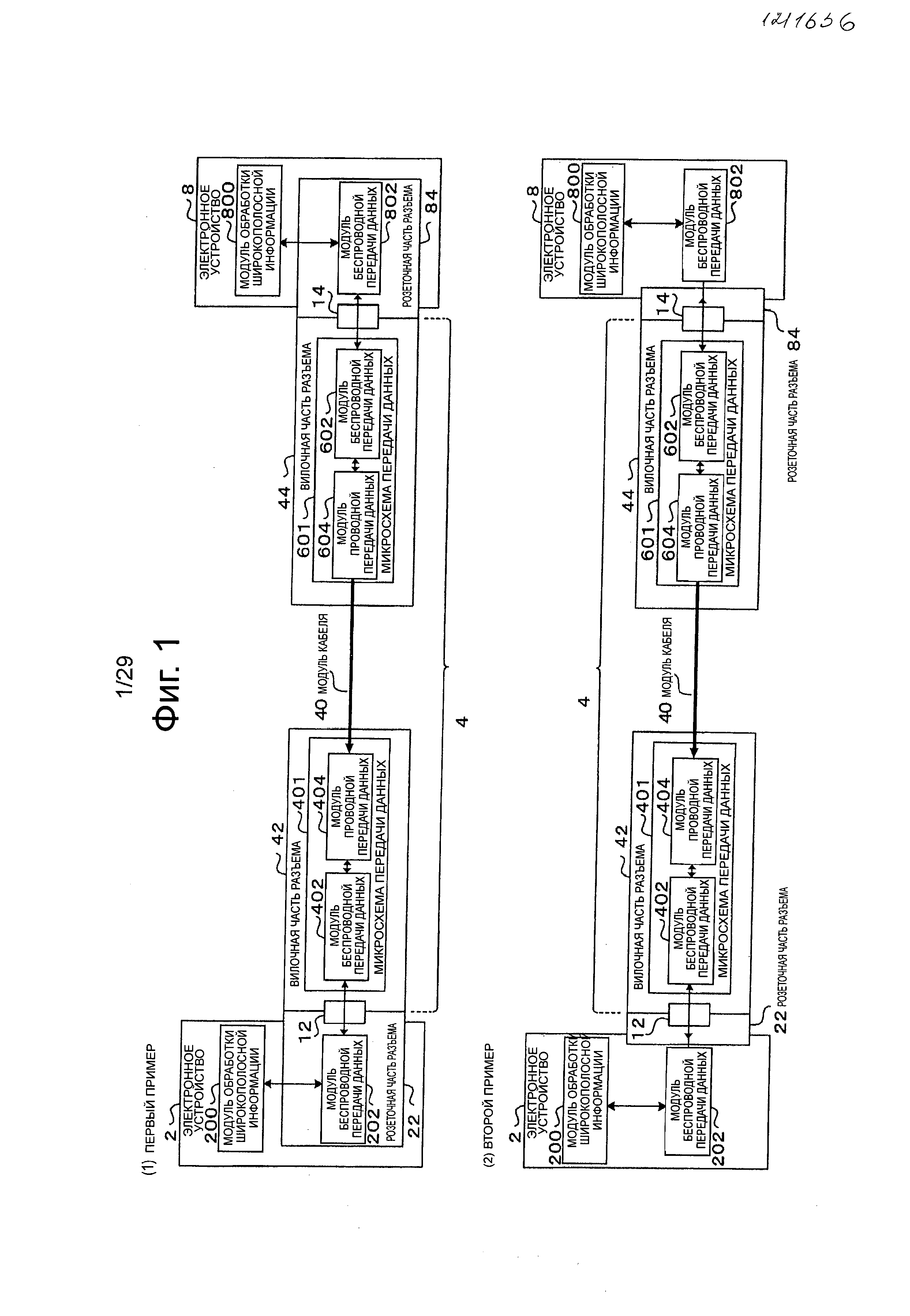
Система передачи сигнала, устройство разъема, электронное устройство и ...

Трансмембранная передача сигнала (решение задач) - YouTube

Передача сигнала на расстояние с помощью света

  • Вперед Гдз по англ рабочая тетрадь 9 класс
  • Назад Вино киндзмараули кахетия

Новые страницы

Александровский парк в петербурге

День рождения масяня

Договор юридических услуг образец

Экономический университет санкт петербург

Физкультура и спорт в жизни человека

Гуманитарный колледж рггу москва

Как нарисовать гитару карандашом поэтапно для детей 2 класса

Как создать пароль на госуслугах пример правильно образец

Карта таро на обои для похудения

Картинка пнг анна и эльза

Маленький мук отзыв 3 класс

Математика 4 класс 47

Москвич 2141 чертеж

Наследственная схема

Ниссан альмера регулировка ручного тормоза

Окружность вписанная в треугольник авс

Парк намсан

Полонский на острове

Приказ о премии образец

Репетитор по подготовке к школе

Смотреть фильм адвокат дьявола

Соединитель пвх

Спортивные прогнозы на футбол

Такси заказать недорого по телефону

Топонимическая перифраза столица подсолнечного масла используется по отношению к городу

Валентинки на день святого

Vdo rd3 01

Высотные в москве

Волга сайбер плюсы и минусы

Замена герметика клапанной крышки приора

cdn.zecar.ru