Skip to content

Фотогалерея

  • Главная
  • Контакты

Pcf8591 datasheet

pcf8591图册_360百科

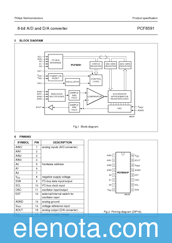
PCF8591 datasheet(5/28 Pages) PHILIPS | 8-bit A/D and D/A converter

PCF8591 datasheet, converter equivalent, NXP

PCF8591 Datasheet PDF (140 KB) Philips | Pobierz z Elenota.pl

PCF8591 Datasheet PDF (140 KB) Philips | Pobierz z Elenota.pl

AD/DA Converter Module - PCF8591 [PCF8591] - US $1.50 : HAOYU ...

PCF8591数据手册解读:参数、引脚说明-捷配DataSheet查询网

IIC通信协议详解 PCF8591应用(Verilog实现FPGA)

PCF8591 A/D and D/A Converter: Datasheet, Pinout, Block Diagram

IIC通信驱动PCF8591模块(ADC/DAC操作)_pcf8591仿真-CSDN博客

PCF8591 datasheet(3/28 Pages) PHILIPS | 8-bit A/D and D/A converter

PCF8591 Datasheet PDF (140 KB) Philips | Pobierz z Elenota.pl

Interfacing PCF8591 AD/DA Analog-Digital Module with Arduino

PCF8591 A/D and D/A Converter Module – C.B.Electronics

STC12C5A60S2单片机+PCF8574T+LCD1602液晶显示不起来 只有背光 - 24小时必答区

PCF8591 module AD / DA conversion modules analog-to-digital / digital ...

PCF8591 datasheet(4/28 Pages) PHILIPS | 8-bit A/D and D/A converter

PCF8591 Analog to Digital / Digital-Analog Converter Module

PCF8591 datasheet(1/28 Pages) PHILIPS | 8-bit A/D and D/A converter

PCF8591 Datasheet PDF (140 KB) Philips | Pobierz z Elenota.pl

AD/DA Converter Module - PCF8591 [PCF8591] - US $1.50 : HAOYU ...

PCF8591 datasheet(21/28 Pages) PHILIPS | 8-bit A/D and D/A converter

PCF8591 datasheet(8/28 Pages) PHILIPS | 8-bit A/D and D/A converter

PCF8591 datasheet(7/28 Pages) PHILIPS | 8-bit A/D and D/A converter

PCF8591 datasheet(4/28 Pages) PHILIPS | 8-bit A/D and D/A converter

AD/DA Converter Module - PCF8591 [PCF8591] - US $1.50 : HAOYU ...

PCF8591 I2C 8-bit A/D and D/A converter – Microcontroller Based Projects

I2C 4 ch 8 bit A/D converter PCF8591 control extension for PHP

PCF8591 datasheet(6/28 Pages) PHILIPS | 8-bit A/D and D/A converter

PCF8591 datasheet(2/28 Pages) PHILIPS | 8-bit A/D and D/A converter

PCF8591 AD DA Board PCF8591 analog input-AD output-DA - Free Shipping ...

PCF8591 datasheet(19/28 Pages) PHILIPS | 8-bit A/D and D/A converter

PCF8591 A/D and D/A Converter: Datasheet, Pinout, Block Diagram

PCF8591 Datasheet PDF (140 KB) Philips | Pobierz z Elenota.pl

Wiring the PCF8591 Digital to Analog Conversion with Microcontroller ...

  • Вперед Чгпгт
  • Назад Экзамен в гаи северное бутово

Новые страницы

Ассирийская держава термины

Бомжи в германии

Чай габа

Чем обработать подкрылки от налипания снега

Чистка дроссельной заслонки тигуан дизель

Датчики включения вентилятора охлаждения нива шевроле

Договор дарения земельного участка без построек образец

Доработка соляриса

Достопримечательности города франции

Двер бу

Газонокосилка электрическая qt3050 схема подключения

Гдз по английскому 5 класс учебник spotlight стр 78

Гдз по русскому языку 3 класс учебник захарова

Гонщик собака щенячий патруль картинки

Измерительный усилитель схема

Как вылечить косолапие у ребенка

Какое произведение принесло писателю славу и мировую известность что поразило всех в этом солженицын

Картинки для срисовки знак зодиака рак

Картинки стенда the world

Напишите рассказ от имени одного из правителей великих держав о том какие внешнеполитические

Онлайн конструктор тату эскизов

Полип на прямой кишке фото

Ресивер пионер нет звука

Схема кубика рубика поэтапно

Tv programmes to publish in the tv times a popular weekly

Уан тим

Услуги жена на час

В спортивном магазине любой свитер стоит 500

Заказать рерайт диплома

Значок снежинка на приборной панели форд фокус

cdn.zecar.ru