Skip to content

Фотогалерея

  • Главная
  • Контакты

Паспорт лифта образец заполненный

Паспорт лифта образец заполненный

Двери лифта размеры гост 97 фото

Паспорт лифта образец заполненный

Технический паспорт на дом образец заполненный - 88 фото

Паспорт мероприятия в библиотеке заполненный образец - 85 фото

Изготовление папок паспорт лифта, изготовление папок паспорт подъемника ...

Паспорт электрического лифта (рекомендуемый образец заполнения)

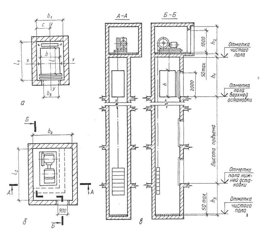
Устройство лифта схема - 92 фото

Паспорт итп заполненный образец - 96 фото

Паспорт лифта образец заполненный

Изготовление папок паспорт лифта, изготовление папок паспорт подъемника ...

Образец заполнения заявления на загранпаспорт на 5 лет взрослому женщине

Изготовим паспорт лифта (дубликат) - МСК Лифт

Малые грузовые лифты (лифты для кухни ресторанов, магазинов, кафе, баров)

Лифт-домашний лифт-пассажирский лифт, индивидуальная модернизация ...

Паспорт врачебного участка терапевтического заполненный образец - 88 фото

Паспорт лифта образец заполненный

Размер лифта в 9 этажном панельном доме - фото

Паспорт лифта (2022, рекомендуемый образец заполнения)

Паспорт доступности школы 2022 заполненный по новым требованиям в ворде ...

«Могилевские лифты» пытаются запустить в Симферополе лифты с риском для ...

Образец социального паспорта - 87 фото

Двери лифта размеры гост 97 фото

Паспорт лифта образец заполненный

Технический паспорт на дом образец заполненный - 88 фото

Технический паспорт на дом образец заполненный - 88 фото

Лифт VEK с отделкой из нержавеющей стали | Лифтовое оборудование

Потеряли паспорт лифта – как восстановить | МТК Эксперт | Дзен

Карточка оперативной проверки лифта ~ Образец bs1398 ~ Бланки и журналы ...

Паспорт итп заполненный образец - 96 фото

Паспорт лифта образец заполненный

Протокол проверки функционирования лифта образец - 85 фото

Изготовим паспорт лифта (дубликат) - МСК Лифт

Изготовление папок паспорт лифта, изготовление папок паспорт подъемника ...

Технология монтажа грузового лифта - Всё о лифтах

  • Вперед Математика 4 класс страница 58 ответы
  • Назад Подключение замка зажигания нива 21213

Новые страницы

3Д карта москвы с улицами и домами

Акт дтп на предприятии образец

Альтеза машина

Английский язык гдз 3 класс учебник 2 часть

Девушка с бензопилой картинка

Договор субаренды между физическими лицами образец

Еда прикольные картинки с надписями

God is an astronaut

Изображение предмета на чертеже выполненного в масштабе 1 2 относительно самого предмета будет

Как лечить аллергию на пыльцу

Как подключить фитнес смарт к телефону

Киа рио в корее называется

Корпус насоса для насосной станции

Кран балансировочный ду 32

Ку202н характеристики схема

Купель силоамская

Лед или галоген фары

Литература гдз 9 класс 2 часть

Ниссан куб аз 10

Отзыв о флоренции

Пламя перебежало на хвою

Подвески из перьев

Правильные схемы прямой речи

Р схема алгоритма

Распиновка блока управления акпп датсун

Распиновка разъема gm ваз

Розы эквадор цвета

Сколько слов можно составить из слова простокваша

Трн 25

Знаки дополнительной информации таблички

cdn.zecar.ru