Skip to content

Фотогалерея

  • Главная
  • Контакты

Осциллятор для сварки своими руками схема

Осциллятор для сварки алюминия своими руками схема: Схема осциллятора ...

Сварочный осциллятор. Схема и принцип работы

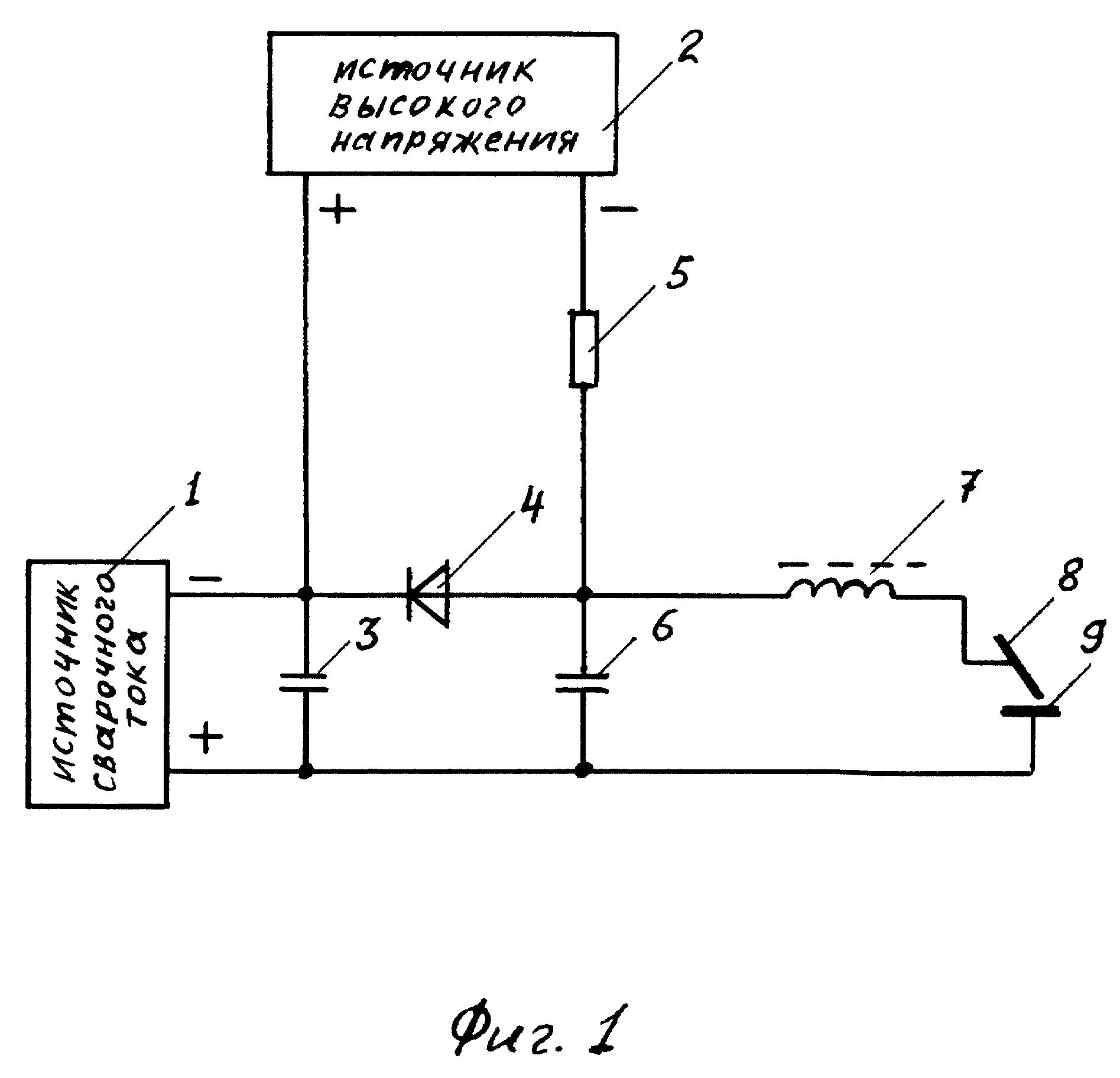
Схема осцилятора (плазмотрона) для сварки алюминия своими руками

Схема осциллятора: Осциллятор своими руками: схема сборки сварочного ...

Осциллятор для сварки в аргоне, изготовленный своими руками по типовой схем

Схема осциллятора: Осциллятор своими руками: схема сборки сварочного ...

Создание осциллятора для инвертора и для сварки своими руками

Осциллятор для сварки в аргоне, изготовленный своими руками по типовой схем

Сварочный осциллятор. Схема и принцип работы

Как сделать для сварки осциллятор своими руками?

Самодельная сварка аргоном. Осциллятор своими руками | Все своими ...

Сварочный осциллятор. Схема и принцип работы

Осциллятор для инвертора своими руками: схемы, устройство

Схема осцилятора (плазмотрона) для сварки алюминия своими руками

Самодельная сварка аргоном. Осциллятор своими руками | Все своими руками

Сварочный осциллятор своими руками

Сварочный осциллятор. Схема и принцип работы

Создание осциллятора для инвертора и для сварки своими руками

Сварочный осциллятор. Схема и принцип работы

Осциллятор для сварки в аргоне, изготовленный своими руками по типовой схем

Сварочный осциллятор. Схема и принцип работы

Сварочный осциллятор. Схема и принцип работы

Осциллятор для инвертора своими руками: схемы, устройство

Осциллятор для инвертора своими руками: схемы, устройство

Осциллятор для инвертора своими руками: схемы, устройство

Аргонная сварка своими руками

Осциллятор Сварочный Своими Руками

Осциллятор для сварки: принцип работы и применение

Схема осциллятора: Осциллятор своими руками: виды и схемы сборки ...

Схема осцилятора (плазмотрона) для сварки алюминия своими руками

Схема сварочного осциллятора своими руками

Сварочный осциллятор: устройство и изготовление своими руками

Осциллятор для инвертора своими руками: схемы, устройство

Создание осциллятора для инвертора и для сварки своими руками

Осциллятор для инвертора своими руками: схемы, устройство

  • Вперед Загорают в парках
  • Назад Договор аренды квартиры между юр лицом и физ лицом образец скачать

Новые страницы

Автосервис котлас

Беларусь гостиница в минске

Бутово парк распечатать

Доверенность на получение товарно материальных ценностей образец 2023

Двухоборотный сифон

Фотограф на свадьбу спб

Гдз алгебра 9 клаас мерзляк

Химические вещества в клетке 9 класс презентация пономарева

Как поменять габариты на ваз 2110

Как разобрать фару 2114

Книга покупок и продаж образец

Кринжовые картинки с днем

Лечение в барокамере показания

Микроинфаркт лечение в домашних условиях

Острый ларинготрахеит карта вызова смп

Отключается магнитола на кочках

Паспорт тсу bosal

Придумала план как сбежать от маньяка после пятилетнего заточения

Приложение реферата образец

Разбор предложения белый пар по лугам расстилается

Регулировка турбины хендай гранд старекс

Схема зарядного на ку202н

Схемы водородной связи

Сирень персидская фото описание

Составьте схему государственного устройства

Спрос на поддоны деревянные

Тепловая карта рисков

Вес дома из газобетона 10х10

Заниматься фитнесом для похудения

Заявление о разделе имущества образец

cdn.zecar.ru