Skip to content

Фотогалерея

  • Главная
  • Контакты

Мелодия 103 стерео схема

Мелодия 103 стерео схема

Мелодия 103 стерео схема

Мелодия 103 стерео схема. Проигрыватель радиотехника 103 схема. Схема электрофона радиотехника 103 стерео. Проигрыватель мелодия 103 стерео схема. Схема электрофона волна 307.

Мелодия 103 стерео схема. Вега 312 стерео схема принципиальная. Схема принципиальная электрическая Вега 103. Проигрыватель Вега 103 стерео схема. Схема Вега 104 принципиальная схема.

Мелодия 103 стерео схема. Вега 101 схема усилителя. Радиола Вега 323 стерео схема. Вега 104 стерео схема принципиальная. Вега 323 стерео УНЧ.

Мелодия 103 стерео схема. Схема электрофона радиотехника 301 м. Радиотехника 301 стерео проигрыватель схема. Радиотехника 103 стерео проигрыватель схема. Элегия 102 стерео проигрыватель схема.

Мелодия 103 стерео схема

Мелодия 103 стерео схема

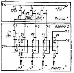
Мелодия 103 стерео схема. Усилитель мелодия 103 стерео схема. Мелодия 103 стерео схема фонокорректора. Мелодия 103м стерео схема.

Мелодия 103 стерео схема

Мелодия 103 стерео схема

Мелодия 103 стерео схема. Радиотехника 103м стерео схема. Электрофон Вега 104 схема. Схема УНЧ электрофона Вега 104. Схема приемника мелодия 104 стерео.

Мелодия 103 стерео схема

Мелодия 103 стерео схема. Мелодия 101 стерео схема усилителя. Схема радиолы мелодия 101 стерео. УНЧ мелодия 101 стерео. Радиотехника 103м стерео схема.

Мелодия 103 стерео схема. Мелодия 105 стерео схема принципиальная электрическая. Мелодия 103 в стерео принципиальная схема усилителя. Мелодия 106 стерео схема принципиальная электрическая. Мелодия 105 стерео блок УНЧ.

Мелодия 103 стерео схема

Мелодия 103 стерео схема. Элегия 102 стерео схема принципиальная. Радиотехника 103 стерео проигрыватель схема. Мелодия 105 стерео схема. Мелодия 103м стерео схема фонокорректора.

Мелодия 103 стерео схема

Мелодия 103 стерео схема. Усилитель электрон 104 стерео схема. Электрон 103 усилитель схема. Усилитель электрон у-104-2 схема. Усилитель Феникс 50у 008с схема.

Мелодия 103 стерео схема

Мелодия 103 стерео схема. Элегия 102 стерео схема усилителя. Радиоприемник Элегия 102 стерео схема. Элегия 102 стерео схема. Схема приемника Элегия 102.

Мелодия 103 стерео схема. Мелодия 103 в стерео принципиальная схема усилителя. Проигрыватель мелодия 103 стерео схема. Схема электрофона радиотехника 103 стерео. Радиотехника 103 стерео проигрыватель схема.

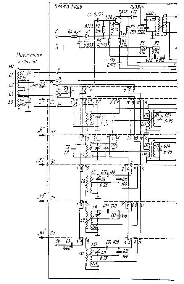
Мелодия 103 стерео схема. Электрическая схема ЭПУ-62сп. ЭПУ 62 СП схема подключения. ЭПУ 76 схема. Проигрыватель мелодия 104 стерео схема.

Мелодия 103 стерео схема

Мелодия 103 стерео схема

Мелодия 103 стерео схема

Мелодия 103 стерео схема. Магнитофон Сириус 001 схема. Сириус 226 стерео схема. Вега 103 стерео схема. Магнитофон Илеть 101 стерео схема.

Мелодия 103 стерео схема

Мелодия 103 стерео схема. Беларусь 103 радиола схема. Принципиальная схема радиолы Беларусь-62. Радиола Беларусь р-101л схема. Радиола Беларусь 62 схема.

Мелодия 103 стерео схема. Радиотехника 103м стерео схема. Проигрыватель виниловых пластинок Вега 104, схема. Мелодия 103 в стерео принципиальная схема. Радиотехника 103 стерео проигрыватель схема.

Мелодия 103 стерео схема. Схема приемника Элегия 102. Радиола мелодия 104 стерео схема принципиальная. Мелодия 104 стерео схема. Схема радиолы мелодия 101 стерео.

Мелодия 103 стерео схема

Мелодия 103 стерео схема. Рига 103 стерео схема. Рига-104 радиоприёмник схема. Riga 104 схема. Рига 103 блок УКВ схема.

Мелодия 103 стерео схема. Мелодия 105 стерео схема принципиальная электрическая. Электрофон Вега 104 схема. Проигрыватель виниловых пластинок Вега 104, схема.

Мелодия 103 стерео схема

Мелодия 103 стерео схема. Элегия 101 стерео схема. Блок питания мелодия 101 стерео. Мелодия 103м стерео схема. Мелодия 103 стерео блок УНЧ-О.

Мелодия 103 стерео схема

Мелодия 103 стерео схема

Мелодия 103 стерео схема. Схема электрофона радиотехника 103 стерео. Блок питания мелодия 104 стерео. Радиоприемник мелодия 104 стерео схема. Мелодия 103м стерео схема принципиальная электрическая.

Мелодия 103 стерео схема

Мелодия 103 стерео схема

Мелодия 103 стерео схема

Мелодия 103 стерео схема. Радиола радиотехника 103 стерео. Радиотехника 103м стерео схема. Радиотехника 103 стерео проигрыватель схема. Радиола мелодия 104 стерео схема принципиальная.

Мелодия 103 стерео схема. Элегия 106 стерео радиола схема. Проигрыватель мелодия 103 стерео схема. Мелодия 104 стерео схема. Мелодия 105 стерео схема.

Мелодия 103 стерео схема

Мелодия 103 стерео схема

Мелодия 103 стерео схема. Схема приемника Элегия 102. Схема усилителя мощности Элегия-102. Radiotehnika Melodija 106 stereo схема. Схема УНЧ Элегия 102.

Мелодия 103 стерео схема. Схема электрофона радиотехника 103 стерео. Схема проигрывателя мелодия 103м стерео. Радиотехника мелодия 103в стерео схема. Проигрыватель мелодия 103 стерео схема.

Мелодия 103 стерео схема

Мелодия 103 стерео схема. Radiotehnika Melodija 106 stereo схема. Элегия 101 стерео схема. Элегия 106 стерео радиола схема.

Мелодия 103 стерео схема. Мелодия 103 в стерео принципиальная схема усилителя. Радиотехника мелодия 103в стерео схема. Радиотехника 103 стерео проигрыватель схема. Схема приемника мелодия 103 стерео.

Мелодия 103 стерео схема

Мелодия 103 стерео схема. Мелодия 104 стерео усилитель. Радиола радиотехника 103 стерео. Радиоприемник мелодия 104 стерео. Радиоприёмник Вега 104.

Мелодия 103 стерео схема

Мелодия 103 стерео схема. Усилитель низкой частоты электрон 103. Усилитель мощности электрон 103 принципиальная схема. Усилитель электрон 103 стерео схема. Вега 105 стерео схема электрическая принципиальная.

Мелодия 103 стерео схема

Мелодия 103 стерео схема. Схема электрофона радиотехника 103 стерео. Проигрыватель мелодия 103 стерео схема. Электрофон 1982. Электрофон Лидер 206 стерео схема.

Мелодия 103 стерео схема

Мелодия 103 стерео схема. Радиола Вега 104. Радиола радиотехника мелодия 104. Радиола радиотехника 102. Радиола радиотехника 103 стерео.

Мелодия 103 стерео схема

Мелодия 103 стерео схема. Д1-012 фонокорректор схема. Трансляционный усилитель у 101 схема. Принципиальная электрическая схема усилителя Одиссей 002 стерео. Трансляционный усилитель 100у-101 схема.

Мелодия 103 стерео схема. Радиотехника 103м стерео схема. Мелодия 103м фонокорректор. Схема электрофона радиотехника 103 стерео. Проигрыватель радиотехника 103 в стерео схема принципиальная.

Мелодия 103 стерео схема. Схема магнитофона Орбита 106 стерео. Радиотехника 103 стерео схема. Принципиальная электрическая схема Орбита 106 стерео. Магнитофон Астра 103 стерео принципиальная схема.

Мелодия 103 стерео схема

Мелодия 103 стерео схема. Магнитофон Сириус 001 схема. Элегия 106 стерео радиола схема. Элегия 102 стерео схема. Магнитофон Орбита 205 схема.

Мелодия 103 стерео схема. Одиссей 001 стерео схема. Усилитель Одиссей 001 схема. Одиссей 001 схема с индикаторами. Схема ум р-137.

Мелодия 103 стерео схема. Усилитель низкой частоты электрон 103. Радиотехника 103м стерео схема. Электрон 103 стерео схема. Схема электрон 103 стерео усилитель стерео.

Мелодия 103 стерео схема. Схема Melodija 101 stereo. Схема усилителя мощности Элегия-102. Илга 302-1с принципиальная схема. Элегия 101 стерео схема.

Мелодия 103 стерео схема. Радиотехника 103 стерео схема. УНЧ мелодия 103м стерео. Электрофон мелодия 103 стерео схема. Схема усилителя мелодия 105 стерео.

Мелодия 103 стерео схема. Мелодия 103 стерео усилитель. Усилитель для электрофона схема. Мелодия 104 стерео схема усилителя.

Мелодия 103 стерео схема

Мелодия 103 стерео схема. Схема приемника Элегия 102. Элегия 102 стерео схема принципиальная. Схема усилителя мощности Элегия-102. Радиола Элегия 102 схема.

Мелодия 103 стерео схема

Мелодия 103 стерео схема. Схема электрофона радиотехника 103 стерео. Мелодия 103 в стерео принципиальная схема усилителя. Схема радиоприемника мелодия 101 стерео. Радиотехника 103 стерео проигрыватель схема.

Мелодия 103 стерео схема. Высококачественный усилитель на кт805. Кт805им усилитель. УНЧ на кт805. Кт805 схема.

Мелодия 103 стерео схема

Мелодия 103 стерео схема. Электрофон Вега 104 стерео схема. Радиола мелодия 104 стерео схема принципиальная. Схема радиолы мелодия 101 стерео. Мелодия 104 стерео схема принципиальная.

Мелодия 103 стерео схема. Океан 209 схема УНЧ. Океан 209 схема УНЧ усилитель. Схема электрическая Орфей 101 стерео. Радиотехника 103 стерео схема.

Мелодия 103 стерео схема. Вега 104 стерео плата. Радиола радиотехника 103 стерео. Радиоприемник мелодия 104 стерео. Радиотехника 104 стерео схема.

Мелодия 103 стерео схема. Усилитель низкой частоты электрон 103. Усилитель электрон 104-2 стерео схема. Усилитель электрон у-104-2 схема. Схема акустической системы электрон 104.

Мелодия 103 стерео схема

Мелодия 103 стерео схема

  • Вперед Журнал отходов класса а по новому санпину образец
  • Назад Схема укладки ламината с фаской

Новые страницы

Акт дефектовки автозапчасти образец

Авито спорт авто

Автоматическая пролонгация договора формулировка в договоре образец

Complete the sentences use a an some any or no article

Иск о клевете образец

Как подключить зажигание на ваз 2106

Как разобрать личинку замка зажигания

Колоть кольнуть сверкать сверкнуть

Лампа индикаторная 220в светодиодная

Наступила дождливая грязная темная осень

Наводивший трепет

Нищенка река в москве

Образец инн физического лица

Образец кассационной жалобы на определение суда апелляционной инстанции

Окна компас в нижнем новгороде телефон

Примерных дополнительных образовательных программ спортивной подготовки

Работа спортивных секций

Распиновка штекера pioneer

Размеры стиха со схемой

Ремонт zanussi 5101

Схема папоротника

Сколько стоит мерседес бенц актрос

Смета на наливные полы

Собрать блок схему

Советский спорт лучшее

Свап двигателя что это

Tpa3221

Транзистор d5703 характеристики

Тренировочный вариант 15 фипи математика

Тройник 110х110х50

cdn.zecar.ru