Skip to content

Фотогалерея

  • Главная
  • Контакты

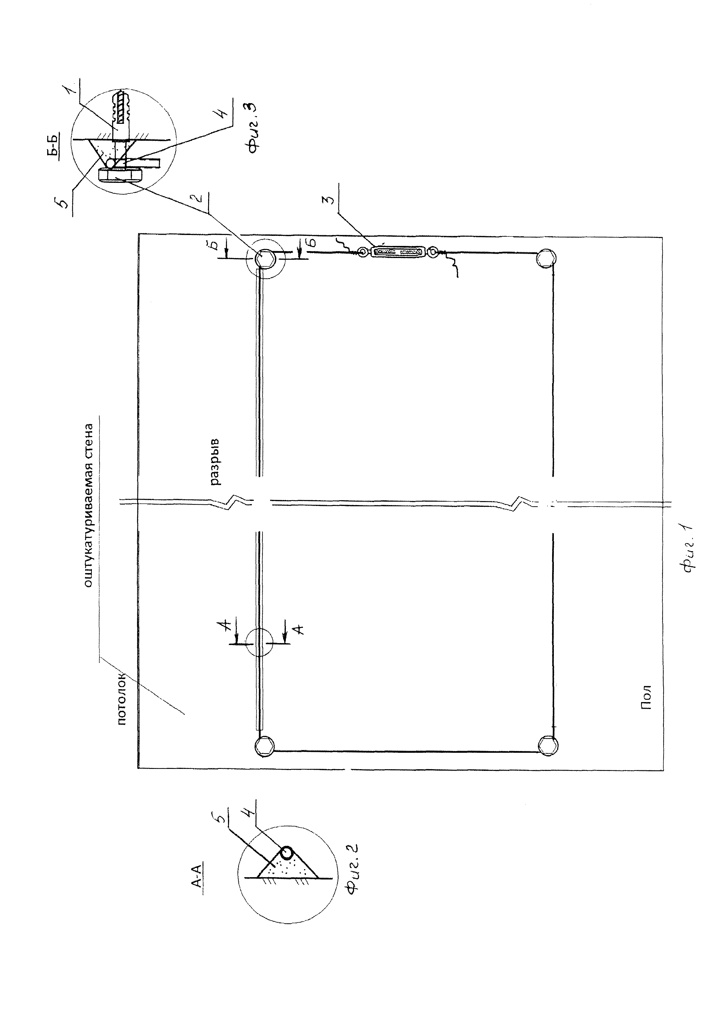
Маяки для штукатурки стен петрович

Маяки для штукатурки стен: как правильно выставить, установка своими ...

Маяк оцинкованный / профиль маячковый длина 3м высота 10мм в Москве по ...

Маяки для штукатурки: размеры, виды, особенности монтажа

Как установить маяки для штукатурки стен | Полезное от ВОЛМА

Стол для штукатурных работ своими руками - 90 фото

Как правильно выставить маяки под штукатурку стен: Как выставить маяки ...

как называются маяки для штукатурки стен — Все о ремонте домов и квартир

Выставляем маяки для штукатурки стен своими руками

Как правильно выставить маяки для штукатурки стен: инструкция ...

Установка маяков: как правильно выставить маячки под штукатурку стен ...

Маяки для штукатурки стен: 7 видов строительных маячков, направляющие ...

Штукатурка стен своими руками цементным раствором по маякам: Штукатурка ...

Маяки для штукатурки стен: виды, размеры, плюсы и минусы

Струнные маяки для штукатурки - Ремонт | лайфхаки | интерьер

Штукатурка стен по маякам: как сделать своими руками, подробная инструкция

Как ставить маяки для штукатурки видео: Как правильно установить маяки ...

Маяки для штукатурки стен: 7 видов строительных маячков, направляющие ...

Петрович маяки для стяжки пола - 82 фото

Маячки для штукатурки стен: как выбрать и установить, правила штукатурки

Петрович маяки для стяжки пола - 82 фото

штукатурка наружных стен по маякам

Маяки для штукатурки стен: 7 видов строительных маячков, направляющие ...

Как выставить маяки под штукатурку стен без лазерного уровня своими ...

Штукатурка стен под Маяк - 57 фото

Как крепить маяки для штукатурки стен

Маяки для штукатурки – разновидности и применение

Нужно ли снимать маяки после штукатурки стен?

Как выставить маяки под штукатурку стен - 98 фото

Строительные маяки: что это такое, зачем нужны, виды, как правильно ...

Маяки для штукатурки: установка, цена, видео

Как правильно установить маяки для штукатурки стен своими руками ...

Петрович маяки для стяжки пола - 82 фото

Строительные маяки: что это такое, зачем нужны, виды, как правильно ...

Маяки для штукатурки, профиль маячковый, штукатурный маяк купить.

Почему я считаю пластиковые маяки для штукатурки-баловством. | Deco-S ...

  • Вперед Means of transport spotlight 8
  • Назад Бобышка под термометр

Новые страницы

Адреналин для спортсменов

Автоматизация звука м в картинках

Балкон у моря

Блок релейный бр 1

Dtmf mt8870

Фитнес браслет м

Фитнес упражнения силовые женщин

Гдз по англ 5 класс spotlight рабочая тетрадь

Гдз по математике 6 класс потапов шевкин рабочая тетрадь

Как написать гарантийное письмо об оплате образец

Как закалить сталь

Как заменить резинку

Какой вид спорта представляющий

Камчатка бар санкт петербург

Лечение шпоры в пятке

Маяки для штукатурки стен петрович

Новости спорта политики в мире

Обливион фильм 2013

Образец заполнения книги доходов и расходов ип

Полоски для фотошопа на прозрачном фоне для картинок

Предложение по схеме потому что

Приказ об утверждении сопов в медицинской организации образец

Проказница мартышка

Rewrite the newspaper headlines in the passive

Савва игнатьевич покровские ворота

Специальная спортивно техническая подготовка

Усиленное газообразование в кишечнике причины и лечение

Варить спряжение глагола какое

Весенние песни картинки

Жалоба на судебного пристава образец

cdn.zecar.ru