Skip to content

Фотогалерея

  • Главная
  • Контакты

Лебедка схема управления

Лебедка схема управления. Подключение лебедки Electric winch 12000 схема. Лебедка Electric winch 12000 lb схема. Схема подключения лебедки Винч 12000. Лебедка Electric winch 12000 lbs схема.

Лебедка схема управления. Принципиальная схема электропривода грузовой лебедки. Схема электропривода буксирной лебедки. Схема электрическая принципиальная управления лебёдкой. Принципиальная схема электрической буксирной лебедки.

Лебедка схема управления. Лебёдка Спрут 9000 схема подключения. Схема подключения лебедки 12 вольт. Схема подключения соленоидов лебедки come up 9000. Схема подключения лебедки т Макс 9500.

Лебедка схема управления. Кинематическая схема грузовой лебедки. Привод электрической лебедки кинематическая схема. Схема электропривода траловой лебедки. Траловая лебедка схема электрическая.

Лебедка схема управления. Схема управления электроприводом грузовой лебедки. Принципиальная схема электропривода грузовой лебедки. Электрическая схема лебедки CWL-301l. Принципиальная электрическая схема электропривода лебедки.

Лебедка схема управления. Лебёдка Спрут 9000 схема подключения. Схема подключения лебедки 12 вольт. Схема подключения лебедки 12 вольт для автомобиля. Схема подключения лебедки электрик Винч 12000.

Лебедка схема управления. Лебедка Electric winch 12000 lb схема. Лебёдка winch 12000 lb схема подключения. Схема подключения лебедки 12000. Схема подключения лебедки Винч 12000.

Лебедка схема управления. Схема электропривода управления якорно швартовое устройство. Схема контроллерного управления электроприводом брашпиля. Релейно-контакторная схема электропривода. Электрическая схема якорно швартовного устройства.

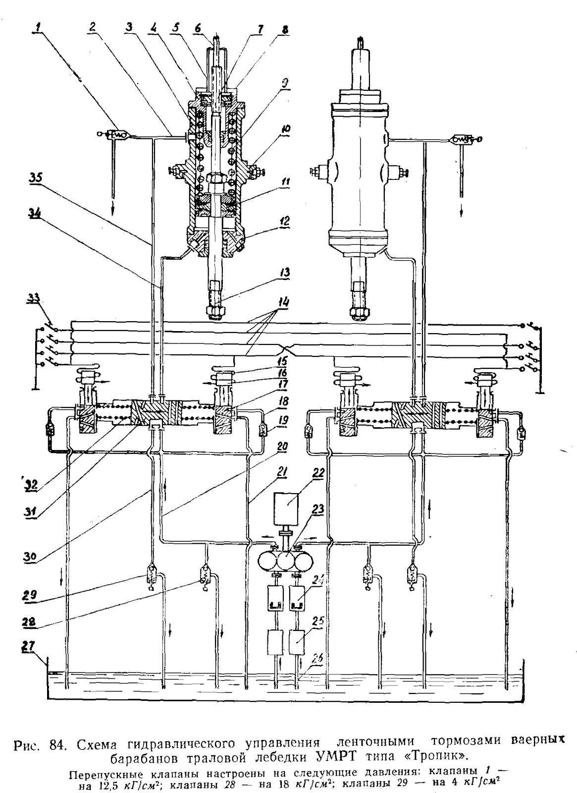
Лебедка схема управления. Схема подключения гидравлической лебедки. Схема гидравлических швартовых лебедок. Лебедка с гидравлическим приводом схема. Лебёдка БМ 531 схема гидравлики.

Лебедка схема управления. Схема электропривода буксирной лебедки. Электрическая схема буксирной лебедки. Принципиальная схема буксирной лебедки 1,5-3/12. Кинематическая схема буксирной лебедки.

Лебедка схема управления

Лебедка схема управления. Схема подключения лебёдки 380 в. Схема подключения электролебедки 380в. Схема подключения электрической лебедки 380 вольт. Тельфер 220 вольт схема электрическая принципиальная.

Лебедка схема управления. Привод лебедки тт4. Рычаги управления лебедкой ТТ 4м. Привод трактора тт4. Тт4 трелевочник лебедка.

Лебедка схема управления. Таль электрическая Electric Hoist pa500a схема электрическая. Электроталь 125/250 схема. Электротельфер электросхема 220 в.

Лебедка схема управления. Схема подключения лебедки winch 12000. Схема подключения лебедки электрик Винч 12000. Лебёдка winch 12000 lb схема подключения. Подключение лебедки Electric winch 12000 схема.

Лебедка схема управления. Схема подключения лебедки 12 вольт. Схема подключения лебедки 220 вольт. Блок управления лебедкой электрик Винч 12000 схема. Лебедка электрическая схема подключения.

Лебедка схема управления. Схема управления электроприводом лебёдки. Принципиальная электрическая схема электропривода лебедки. Схема электрическая принципиальная папильонажная лебедка. Схема электропривода траловой лебедки.

Лебедка схема управления. Подключение лебедки Electric winch 12000 схема. Схема подключения лебедки электрик Винч 12000. Схема подключения лебедки Винч 12000. Winch 12000 lb схема электрическая.

Лебедка схема управления. Принципиальная схема электрической буксирной лебедки. Принципиальная схема электропривода грузовой лебедки. Схема электропривода грузовой лебедки судна. Схема электропривода буксирной лебедки.

Лебедка схема управления. Схема подключения лебедки 220в. Лебёдка электрическая 220в схема подключения. Электрическая схема лебедки 220в. Схема подключения лебедки 12 вольт.

Лебедка схема управления

Лебедка схема управления

Лебедка схема управления. Лебёдка бл-56 сб2 схема подключения. Схема подключения электролебёдки kcd1000. Лебедка электрическая схема подключения. Схема Эл.лебедки 380в.

Лебедка схема управления. Лебедка рамоподъемная ЛР-5. Леюедка рамоподъемнаялр-5. Лебедка ЛПЭ 5-1000 чертеж. Лебедка ЛР-0,15 чертеж.

Лебедка схема управления. Лебёдка электрическая 220в схема подключения. Гидравлическая лебедка буйвол ЛПГ 81. Схема подключения лебедки 220в. Схема подключения электрической лебедки 12.

Лебедка схема управления. Схема цепей управления экг8и. Схема электрическая принципиальная электропривода постоянного тока. Схема электропривода грузовой лебедки постоянного тока. Схема электрическая принципиальная папильонажная лебедка.

Лебедка схема управления. Схема подключения электролебедки 220в. Схема подключения лебедки 220в. Схема подключения автомобильной лебедки 12 вольт. Схема подключения электрической лебедки 220 вольт.

Лебедка схема управления

Лебедка схема управления. Схема подключения лебедки электрик Винч 12000. Схема подключения автомобильной лебедки. Схема подключения лебедки 12в. Схема подключения лебедки 9500.

Лебедка схема управления. Лебёдка электрическая 220в схема подключения. Лебедка лм-5 электрическая схема. Лебедка ра 250/500 схема подключения. Схема подключения лебедки 12 вольт.

Лебедка схема управления. Лебёдка Спрут 9000 схема подключения. Электросхема автомобильной электрической лебедки. Электрическая схема лебедки CWL-301l. Лебедка электрическая схема подключения.

Лебедка схема управления. Схема подключения автомобильной лебедки. Схема подключения автомобильной лебедки 12 вольт. Схема подключения электро лебёдки авто. Лебёдка электрическая 12v схема подключения.

Лебедка схема управления. Схема подключения лебедки 12 вольт. Соленоид лебедки 12 вольт стелс. Пульт управления лебедкой Спрут 9000. Схема подключения пульта дистанционного управления лебедкой.

Лебедка схема управления. Кинематическая схема грузовой лебедки. Кинематическая схема электропривода лебедки. Принципиальная схема электропривода грузовой лебедки. Кинематическая схема электрической лебедки.

Лебедка схема управления. Схема подключения лебедки электрик Винч 12000. Схема подключения лебедки электрик Винч. Подключение лебедки Electric winch 12000 схема. Схема подключения электрической лебедки 12.

Лебедка схема управления. Схема подключения автомобильной лебедки. Схема подключения соленоида лебедки 12в Комап. Схема подключения автомобильной лебедки 12 вольт. Схема подключения электро лебёдки авто.

Лебедка схема управления. Схема подключения гидравлической лебедки. Схема подключения гидравлической лебедки на б11. Лебёдка БМ 531 схема гидравлики. Гидравлическая лебедка схема.

Лебедка схема управления. Схема подключения лебедки электрик Винч 12000. Подключение лебедки Electric winch 12000 схема. Схема подключения лебедки Винч 12000. Электрическая схема подключения лебедки Винч 12000.

Лебедка схема управления. Подключение лебедки Electric winch 12000 схема. Схема подключения лебедки электрик Винч 12000. Схема подключения лебедки электрик Винч. Схема подключения лебедки Винч 12000.

Лебедка схема управления. Принципиальная схема электропривода грузовой лебедки. Принципиальная схема электропривода шпиля. Принципиальная схема электропривода брашпиля. Схема электропривода траловой лебедки.

Лебедка схема управления

Лебедка схема управления. Ленточный тормоз буровой лебедки 1200. Ленточно колодочный тормоз буровой лебедки. Ленточный тормоз буровой лебедки МБУ-140. Ленточно колодочный тормоз буровой лебедки схема.

Лебедка схема управления. Лебёдка Спрут 9000 схема подключения. Спрут 9000 схема подключения. Схема подключения лебедки Спрут 9000 спорт. Блок управления на лебедку Спрут.

Лебедка схема управления. Схема подключения лебедки 12 вольт. Схема подключения автомобильной лебедки. Схема подключения лебедки Рунва 3500. Блок реле схема лебедки.

Лебедка схема управления. Схема управления электроприводом шлюпочной лебедки. Схема электропривода буксирной лебедки. Схема электропривода грузовой лебедки судна. Схема управления электроприводом лебёдки.

Лебедка схема управления. Тельфер 220 вольт электрическая схема. Электрическая схема подключения тельфера. Тельфер 220в схема электрическая принципиальная. Электрическая лебедка 220 вольт схема электрическая.

Лебедка схема управления. Кинематическая схема планетарного редуктора. Кинематическая схема циклоидального редуктора. Кинематическая схема лебедки. Кинематическая схема планетарного редуктора лебедки.

Лебедка схема управления. Блок соленоидов Спрут 9000. Спрут 9000 лебедка схема подключения соленоидов. Лебёдка Спрут 9000 схема подключения. Блок управления Спрут 9000.

Лебедка схема управления. Принципиальная схема электропривода грузовой лебедки. Принципиальная электрическая схема судовой грузовой лебедки. Схема управления электроприводом грузовой лебедки. Принципиальная схема электропривода брашпиля.

Лебедка схема управления. Принципиальная электрическая схема лебедки. Принципиальная схема электропривода грузовой лебедки. Схема управления траловой лебедкой. Схема управления электроприводом брашпиля.

Лебедка схема управления. Схема подключения лебедки winch 12000. Winch 12000 lb схема. Электрическая схема подключения лебедки Винч 12000. Лебёдка winch 12000 lb схема подключения.

Лебедка схема управления. Принципиальная схема электропривода грузовой лебедки. Схема электропривода буксирной лебедки. Схема электропривода траловой лебедки. Схема электропривода шлюпочной лебедки.

Лебедка схема управления. Схема подключения лебедки 220в. Электрическая схема лебедки 220в. Схема лебедки с электрическим приводом 220в. Схема подключения лебедки 12 вольт.

Лебедка схема управления. Привод электрической лебедки кинематическая схема. Кинематическая схема лебедки лифта. Схема лебедки с ручным приводом. Привод электрической лебедки чертеж.

Лебедка схема управления

Лебедка схема управления. Схема подключения реле лебедки. Схема подключения лебедки на квадроцикл. Схема подключения лебедки 12 вольт. Схема подключения реле лебедки 12 вольт.

Лебедка схема управления. Принципиальная схема электропривода грузовой лебедки. Принципиальная схема лифта 400 кг релейная. Принципиальная электрическая схема грузового лифта. Схема управления электроприводом грузовой лебедки.

Лебедка схема управления. Принципиальная схема электропривода грузовой лебедки. Схема контроллерного управления электроприводом брашпиля. Схема управления электроприводом лебёдки. Схема электропривода буксирной лебедки типа ЭЛБ 1.5/12.

Лебедка схема управления. Схема подключения электролебедки 220в. Лебёдка электрическая 220в схема подключения. Схема подключения лебедки 220в. Электрическая схема лебедки 220в.

Лебедка схема управления. Кинетическая схема грузовой лебедки. Кинематическая схема грузовой лебедки. Кинематическая схема грузовой лебедки стрелового крана 461. Кинематическая схема стреловой лебедки.

Лебедка схема управления. Схема подключения электрической лебедки 220 вольт. Схема подключения электрической лебедки 12. Электрическая лебедка 220 вольт схема электрическая. Схема подключения лебедки 220в.

Лебедка схема управления

Лебедка схема управления

Лебедка схема управления

Лебедка схема управления. Электрическая лебедка 220 вольт схема электрическая. Лебёдка автомобильная электрическая 12v схема подключения. Схема подключения лебедки 12 вольт. Автомобильная лебедка Recovery x9500.

Лебедка схема управления

Лебедка схема управления. Схема подключения лебедки 12 вольт. Лебёдка автомобильная электрическая 12v схема. Подключение лебёдки 12 вольт схема подключения. Схема подключения реле лебедки 12 вольт.

Лебедка схема управления. Принципиальная схема электропривода грузовой лебедки. Схема управления электроприводом лебёдки. Схема электропривода грузовой лебедки судна. Схема подключения лебедки 220в.

Лебедка схема управления. Схема электропривода траловой лебедки. Принципиальная схема электропривода грузовой лебедки. Принципиальная электрическая схема электропривода лебедки. Схема электропривода грузовой лебедки судна.

Лебедка схема управления. Схема управления электроприводом лебёдки. Принципиальная схема гидравлической лебёдки. Схема электрическая принципиальная управления лебёдкой. Электропривод лебедки схема.

Лебедка схема управления. Схема автоматической швартовой лебедки. Автоматическая швартовная лебедка схема. Грузовая лебедка ЛГ-55 чертеж. Электропривод лебедки схема.

Лебедка схема управления. Схема подключения лебедки варн. Схема подсоединения лебедки. Соленоид 12 вольт для лебедки схема. Схема подключения соленоида лебедки.

Лебедка схема управления. Принципиальная схема электропривода грузовой лебедки. Схема электропривода траловой лебедки. Электропривод траловой лебёдки принципиальная схема. Схема электрическая экскаватора ЭКГ-8и.

Лебедка схема управления. Схема подключения лебедки электрик Винч 12000. Лебедка автомобильная Electric winch 12v 6000lbs. Подключение лебедки Electric winch 12000 схема. Блок управления лебедки 12v электрик Винч 12000.

Лебедка схема управления. Winch 12000lb электросхема. Схема подключения лебедки 12000lb. Схема подключения лебедки Винч 12000. Лебёдка автомобильная электрическая 12v схема.

Лебедка схема управления. Схема подключения электролебедки 220в. Схема подключения лебедки 12 вольт. Подключение лебедки Electric winch 12000 схема. Схема подключения лебедки 220 вольт.

Лебедка схема управления. Принципиальная схема электропривода грузовой лебедки. Схема управления электроприводом грузовой лебедки. Схема электропривода судового пожарного насоса. Схема электропривода медогонки 12в.

Лебедка схема управления. Лебёдка электрическая ЛЭК 500 схема принципиальная. Схема управления электроприводом папильонажных лебедок. Электросхема лебедки бл-56 сб 2. Электро схема лебедки ПМЗ-т10.

Лебедка схема управления. Лебедки электрические ЛЭМ-10. Лебедка ЛЭМ-10р. Лебедка ЛЭМ-10пл чертеж. Лебедка самоходная электрическая ЛЭМ-10.

Лебедка схема управления. Схема электрическая принципиальная папильонажная лебедка. Электро схема лебедки ПМЗ-т10. Лебёдка электрическая ЛЭК 500 схема принципиальная. Частотный преобразователь электропривода папильонажной лебедки.

Лебедка схема управления. Схема управления электроприводом грузовой лебедки. Схема управления электроприводом шлюпочной лебедки. Принципиальная схема электропривода грузовой лебедки. Схема управления электроприводом траловой лебедки.

Лебедка схема управления. Электродвигатель барабана лебедки крана. Буровые лебедки бу 80брд. Схема буровой лебедки. Фрикционная катушка буровой лебедки.

Лебедка схема управления. Привод электрической лебедки кинематическая схема. Кинематическая схема механизма подъема груза мостового крана. Кинематическая схема механизма подъема кран балки. Кинематическая схема скиповой лебедки.

Лебедка схема управления

Лебедка схема управления. Сборочный чертеж барабана грузовой лебедки. Грузовая лебедка ЛГ-55 чертеж. Тормоз грузовой лебедки на TDK-8/180. Схема растворосмеситель РН-300.

Лебедка схема управления. Лебедка ЛПЭ 5-1000 чертеж. Механическая схема лебедки с электрическим приводом 12 вольт. Привод электрической лебедки чертеж. Схема грузовой лебедки.

Лебедка схема управления. Лебедка 30лс2сма схема. Лебедка 30лс2сма чертеж. Лебедка ЛШП 150у. ЛК 45 чертеж лебедки.

  • Вперед Lamilux выход на кровлю тип comfort solo
  • Назад Изображения эвм четвертое поколение

Новые страницы

Чем шпаклевать пластиковый бампер

Din 7962

Договор аренды самосвала с экипажем образец

Джордж клуни от заката до рассвета тату эскиз фото

Ebs 3 распиновка блока

Имение в древнем риме

Как понять что катушка зажигания неисправна

Карта рязанской области с городами и поселками подробная

Ламинат ремонт

Lm327 схема

Матиз троит

Методика что не хватает на этих рисунках

Не заводится форд транзит

Оргео ру спортивное

Плешаков 2 класс что такое погода презентация 2 класс

Презентация к уроку математики 2 класс петерсон деление с остатком

Put in prepositions where necessary

Расположение предохранителей на чери амулет

Репрезентация и презентация в чем разница

Схема подключения четырехконтактного реле на сигнал

Схема высших органов власти и управления ссср в послевоенные годы

Слетел тросик печки ваз 2114

Спортклуб метро

Упр 539 по русскому языку

Внеурочка спортивные игры

Всем огромное спасибо за поздравления и теплые слова картинки

Wd 40

Заказать техпаспорт на квартиру в бти

Заказать забор в твери

Зубная щетка ультразвуковая

cdn.zecar.ru