Skip to content

Фотогалерея

  • Главная
  • Контакты

Кпд максимальное значение

Обогреватель за копейки ГЛАВНОЕ правильно ПОДКЛЮЧИТЬ максимальное КПД ...

КПД руководителя | ВКонтакте

КПД – личный, коллег и руководства

Каждодневные профессиональные достижения (КПД)

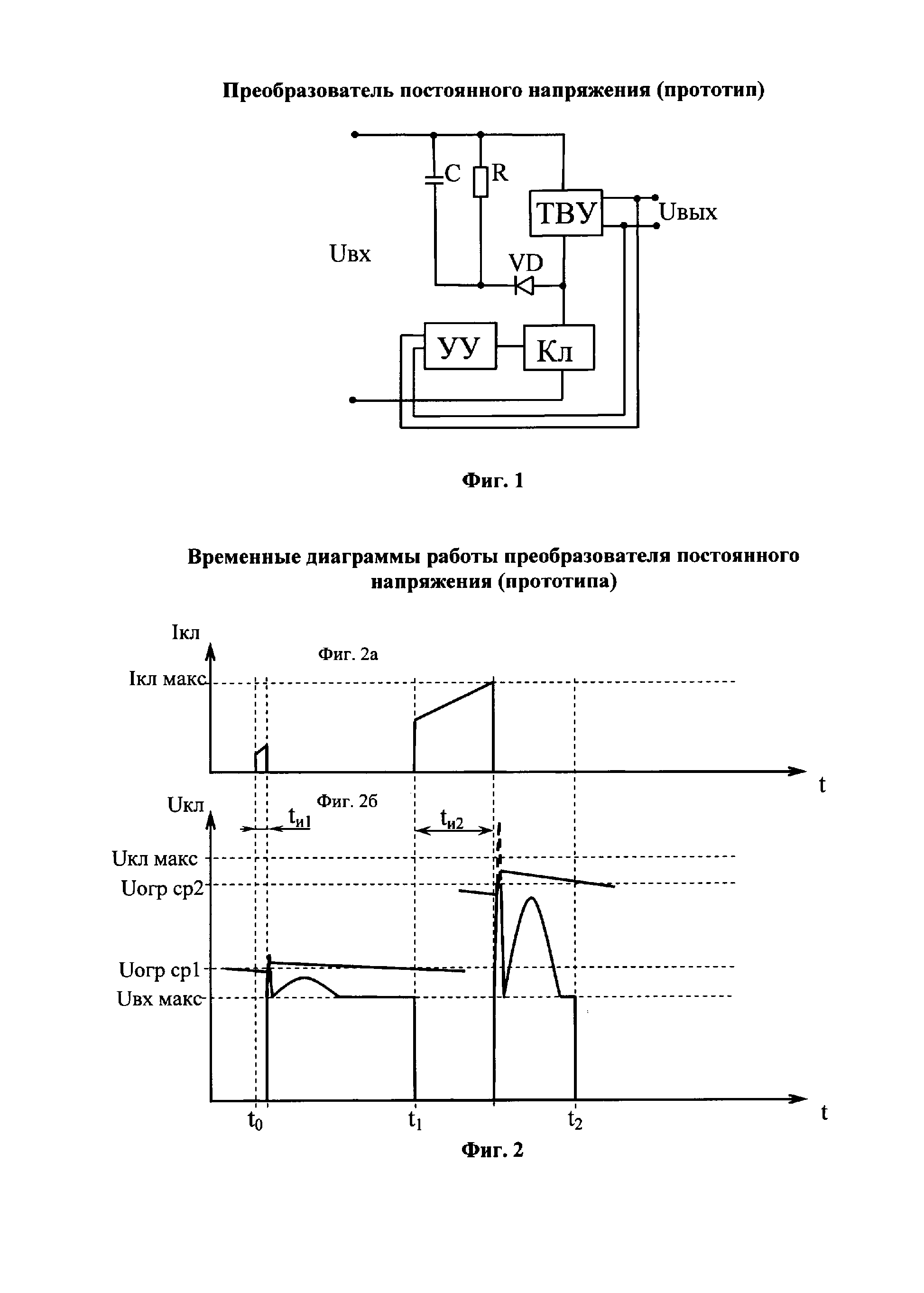
Расчет параметров эксплуатационных характеристик трансформатораДан ...

КПД теплового двигателя - презентация онлайн

КПД теплового двигателя - презентация онлайн

Когда кпд трансформатора имеет максимальное значение - 81 фото

3. Чему равно максимальное теоретическое значение КПД паровой машины ...

3. Чему равно максимальное теоретическое значение КПД паровой машины ...

Необратимость процессов. Второй закон термодинамики.

КПД 108% | Пикабу

Презентация на тему: "Билет 13 Выполнил: ДУГИН КИРИЛЛ, класс 10-2 Цикл ...

Презентация на тему: "Билет 13 Выполнил: ДУГИН КИРИЛЛ, класс 10-2 Цикл ...

Ответы Mail: Что значит номинальное значение, например, сопротивления ...

Презентация на тему: "Билет 13 Выполнил: ДУГИН КИРИЛЛ, класс 10-2 Цикл ...

Презентация на тему: "Билет 13 Выполнил: ДУГИН КИРИЛЛ, класс 10-2 Цикл ...

Презентация на тему: "Билет 13 Выполнил: ДУГИН КИРИЛЛ, класс 10-2 Цикл ...

Когда кпд трансформатора имеет максимальное значение - 81 фото

Котельные установки и топочные устройства - презентация онлайн

Презентация на тему: "Открытый урок по теме «Тепловые двигатели ...

Определить кпд тепловой машины если газу от нагревателя было передано ...

Ответы Mail: Какой может быть максимальный кпд теплового двигателя?

Презентация на тему: "Основы термодинамики Выполнил студент 2-го курса ...

Python максимальное значение

Принцип действия тепловых двигателей КПД. Урок № 35. 10 класс ...

Принцип действия тепловых двигателей КПД. Урок № 35. 10 класс ...

Презентация на тему: "Решение задач по теме «Основы термодинамики ...

Изучить презентацию выполнить конспект по теме «КПД теплового двигателя ...

Презентация на тему: "Термодинамика. Внутренняя энергия и способы ее ...

Определение КПД при подъёме тела по наклонной плоскости. Лабораторная ...

  • Вперед Сша жизнь
  • Назад Весенний диктант

Новые страницы

Абонемент лайм фитнес оренбург

Avrisp

Бмв сочи официальный дилер

Дэу нексия тосол или антифриз

Дизайн для мини кафе

Дом в симагино купить

Допустимое значение для этого параметра от 2022 до 2042 года карта айфон

Гдз по русскому языку 5 класс номер 593

Is there a computer on the desk

Как написать вакансию образец

Картинки абовена в standoff 2

Картинки губ с едой

Клапан обратный межфланцевый ду40

Книга по математике второй класс

Костная ткань у миног и миксин

Lada xray клиренс дорожный просвет

Математика 5 класс номер 1461

Молочница у женщин от чего появляется

Нетбайнет курск

Образец заявления на отпуск за свой счет без сохранения заработной платы

Погода в воскресенске карта осадков онлайн

Построение предложений в английском языке схема

Предохранитель печки приора с кондиционером

Приора хэтчбек или гранта лифтбек

Решебник по биологии

Rjhtym bp 1156

С днем рождения мужчине картинки красивые валера

Схема кофточки для девочки 7 лет

Титан писпа 215с схема

Виды спорта задания

cdn.zecar.ru