Skip to content

Фотогалерея

  • Главная
  • Контакты

Kia7042ap описание на русском

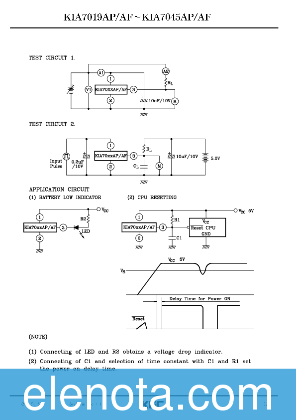
Kia7042Ap описание на русском: KIA7042AP описание схема включения ...

KIA7042AP KEC Transistors - Veswin Electronics

KEC KIA7042AP TO-92 Voltage Detector For Power on And USA ship | eBay

Kia7042Ap описание на русском: KIA7042AP описание схема включения ...

KIA7042APInternet thinking Electronics Co., Electronic data resources ...

KIA7042AP Datasheet PDF - KEC

You've Never Seen It Before - Meet KIA7042AP - Voltage Detector IC ...

Патчи для глаз JMsolution BLACK COCOON HOME ESTHETIC EYE PATCH 60 шт ...

KIA7042AP Datasheet Meta Search

KIA7042AP-AT/P price list, KIA7042AP-AT/P photo |transistor mosfet

KIA7042AP datasheet(1/4 Pages) KEC | BIPOLAR LINEAR INTEGRATED CIRCUIT ...

IC Reset KIA7042AP-AT KIA7042AP KIA7042 7042 4.2V TO-92 Chính Hãng KEC

Kia7042Ap описание на русском: KIA7042AP описание схема включения ...

Солнцезащитный крем c берёзовым соком Round Lab Birch Juice ...

KIA7042AP Datasheet - VOLTAGE DETECTOR

Jual KIA7042AP Voltage Detector 4.2V TO-92 KEC Korea Detector Tegangan ...

KIA7042AP datasheet(3/4 Pages) KEC | BIPOLAR LINEAR INTEGRATED CIRCUIT ...

KIA7042AP_948701.PDF Datasheet Download --- IC-ON-LINE

KIA7045AF Datasheet PDF (403 KB) KEC | Pobierz z Elenota.pl

IC Reset KIA7042AP KIA7042 Mới, Chính Hãng. Linh Kiện Điện Lạnh 88

KIA7042AP Datasheet PDF (403 KB) KEC | Pobierz z Elenota.pl

20 قطعة رقاقة مراقبة KIA7042AP إعادة تعيين IC KIA7042 عالية الدقة مسجلة ...

KIA7042AP - Elecsur - ventas de componentes electrónicos en lima

301 Moved Permanently

2 Pzas Kia7042ap Detector De Voltage | MercadoLibre

Америка штаты карта на русском языке - 97 фото

KIA7042AP KIA7042 TO-92 (mới , chính hãng) | Shopee Việt Nam

(LOT OF OVER 900 PCS) KEC KIA70 42AP KIA7042AP 940 T0-92 VOLTAGE DECTOR ...

KIA7042AP | PDF | Soldering | Electronic Circuits

Store Home Products Feedback

20 قطعة رقاقة مراقبة KIA7042AP إعادة تعيين IC KIA7042 عالية الدقة مسجلة ...

KIA7042AP Datasheet PDF (403 KB) KEC | Pobierz z Elenota.pl

::.KIA7042 KIA7042AP IC reset 4.2V TO-92 chính hãng KEC.::

IC Reset KIA7042AP KIA7042 KIA70 42AP mới 100%

Kia7042Ap описание на русском: KIA7042AP описание схема включения ...

  • Вперед Перловица чем дышит
  • Назад Доктор ноу фильм 1962

Новые страницы

Английский язык 6 класс учебник страница 82 номер 1

Беседка из габионов своими руками

C2271 транзистор характеристики

Чем мазать шрус

Джефф убийца картинки аниме красивые

Гагры челябинск

Гдз по матем номер

Гу32

Как удалить game sport

Какая скорость на трассе

Куда подключать синий провод от магнитолы

Монтеро спорт фото

Образец м15 заполнения форма

Образец печати ип для документов

Окружающий мир сведения спортсменов 3 класс

Пандора ювелирные украшения каталог

Пик 13 карт нарисовать

Распиновка эбу мазда 3 бк

Реле двухпозиционное

Решить по фото география 5 класс

Санаторий якты куль

Схема электроснабжения квартиры

Слабая тара читательский дневник

Toyota c hr 2018

Ярким образцом древнерусского эпидейктического торжественного красноречия является

Заказать дешевый офисный переезд с грузчиками

Замена тросиков печки нива шевроле

Заполнение карточки т 2 образец заполнения

Заявление на реконструкцию частного дома образец

Жалоба в роскомнадзор на оператора связи образец

cdn.zecar.ru