Skip to content

Фотогалерея

  • Главная
  • Контакты

Кантата 205 стерео схема

Кантата 205 стерео схема

Кантата 205 стерео схема. Радиола Беларусь 59 схема принципиальная. Радиола Кантата 205 стерео схема усилителя. Беларусь 101 радиола схема. Беларусь 59 радиола схема.

Кантата 205 стерео схема

Кантата 205 стерео схема

Кантата 205 стерео схема

Кантата 205 стерео схема. Радиола Кантата 204 схема УНЧ. Радиола Кантата 205 схема электрическая принципиальная. Радиола Кантата 203 схема принципиальная. Радиоприемник Кантата 204 схема.

Кантата 205 стерео схема

Кантата 205 стерео схема

Кантата 205 стерео схема. Радиола Кантата 205 стерео схема принципиальная. Кантата 205 стерео инструкция.

Кантата 205 стерео схема

Кантата 205 стерео схема. Эстония 25 аса 2 схема. Радиола Эстония стерео схема. Активных акустических систем 25аса-11. Эстония стерео схема.

Кантата 205 стерео схема. Радиола Кантата 205 схема электрическая принципиальная. Радиола Кантата 203 схема принципиальная. Схема радиолы Кантата 205. Кантата 205 схема.

Кантата 205 стерео схема. Радиола Кантата 205 схема электрическая принципиальная. Схема радиолы Кантата 205. Радиола Кантата 205 стерео схема. Кантата 205 схема усилителя.

Кантата 205 стерео схема

Кантата 205 стерео схема. Кантата 203 радиола схема. Схема приемника Кантата 203. Радиола Кантата 203 схема принципиальная. Электрическая схема радиолы Кантата-203.

Кантата 205 стерео схема

Кантата 205 стерео схема

Кантата 205 стерео схема. Усилитель УНЧ на транзисторах кт808а. Схема усилителя мощности на транзисторах кт805. Схема усилителя на кт808а транзисторах. Схема усилителя мощности 50вт.

Кантата 205 стерео схема. Киара Миа американская порноактриса. Пневмошлифмашинка DG-38ls 7002117. Червячный мотор-редуктор sa67 ls30p41b11. Плазматрон MMG am ls3a.

Кантата 205 стерео схема

Кантата 205 стерео схема

Кантата 205 стерео схема. Схема усилителя Кантата 204. Радиола Кантата 204 схема УНЧ. Схема усилителя Кантата 203. Радиола Кантата 204 схема.

Кантата 205 стерео схема

Кантата 205 стерео схема. Амфитон 25у-002с схема. Схема усилителя Амфитон 25у-002с. Усилитель Амфитон 002 схема принципиальная электрическая. Амфитон 002 схема электрическая принципиальная.

Кантата 205 стерео схема. Радиола Кантата 205 стерео схема усилителя. Радиола Кантата 205 стерео схема принципиальная. Кантата 205 стерео блока УКВ. Кантата 205 силовой трансформатор.

Кантата 205 стерео схема. Радиола Кантата 205 стерео схема. Схема радиола контата 205 стерео.

Кантата 205 стерео схема. Радиола Кантата 205. Кантата 205 стерео. Радиола Кантата 205 стерео. Вега 205 стерео.

Кантата 205 стерео схема

Кантата 205 стерео схема. Миния 4 схема усилителя. Транзисторный усилитель УНЧ-30-120 Елец. Усилитель форум 001 схема. У5 7102235.

Кантата 205 стерео схема. Сириус 311 ламповая радиола схема.

Кантата 205 стерео схема. Кантата 205 стерео. Радиола Кантата 205 стерео. Усилитель Кантата 205. Кантата 205 блок УКВ.

Кантата 205 стерео схема

Кантата 205 стерео схема

Кантата 205 стерео схема. Акустическая система 10ас-225 схема. Акустика 15 АС 220 схема. Колонки Кантата 15ас. 15ас-220 фильтр.

Кантата 205 стерео схема. Радиоприемник Кантата 204 схема. Радиола Кантата 204 схема принципиальная электрическая. Радиола Кантата 204 схема. Радиола Кантата 204 схема УНЧ.

Кантата 205 стерео схема

Кантата 205 стерео схема

Кантата 205 стерео схема. Кантата 205 стерео схема усилителя. Кантата 205 стерео схема электрическая. Схема радиолы Кантата 205. Схема Кантата 205 стерео принципиальная.

Кантата 205 стерео схема

Кантата 205 стерео схема

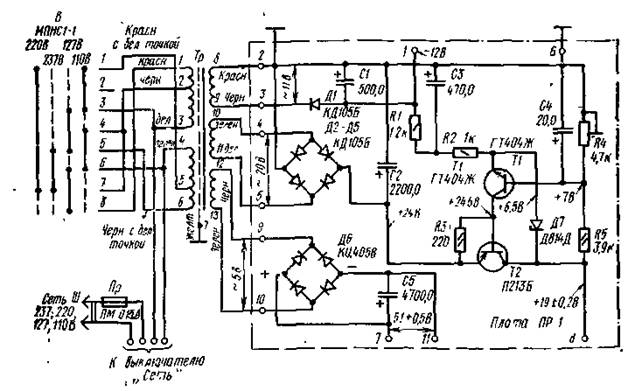
Кантата 205 стерео схема. Кантата 205 силовой трансформатор. Радиола Кантата 205 трансформатор. Трансформатор силовой еи4 704 047. Трансформатор силовой еи4 704 047 характеристики.

Кантата 205 стерео схема. Схема лампового кв приемника на любительские диапазоны. Схема лампового приемника 2v2. Схема кв приемника на лампах 6и1п. Схема лампового приемника коротковолновика.

Кантата 205 стерео схема. Радиола Кантата 204 схема УНЧ. Радиола Кантата 204 схема. Кантата 203 радиола схема. Схема усилителя Кантата 204.

Кантата 205 стерео схема. Блок питания телевизора электроника 409д. Схема телевизора электроника 409д. Схема телевизора электроника ц 432д. Схема телевизора сапфир 409д.

Кантата 205 стерео схема. Усилитель Кантата 205. Проигрыватель Кантата 205 стерео. Усилитель из Кантата 205 стерео. Кантата 205 антенна.

Кантата 205 стерео схема. Радиола Восток 57 принципиальная схема. Радиола Кантата 301 схема. Радиола Восток 57 схема принципиальная электрическая. Кантата 205 блок УКВ.

Кантата 205 стерео схема. Схема радиолы Кантата 205. Радиола Кантата 205 стерео схема принципиальная. Радиола Кантата 205 схема электрическая принципиальная. Схема на приемник Кантата 204.

Кантата 205 стерео схема. Радиола Кантата 205. Кантата 205 блок УКВ. Вега 205 стерео. Схема радиолы Кантата 205.

Кантата 205 стерео схема. Схема защиты усилителя Амфитон 25у-202с. Усилитель Амфитон а1-01-2 схема усилителя. Усилитель Амфитон 002 схема принципиальная электрическая. Схема усилителя Амфитон у 002 стерео Hi-Fi.

Кантата 205 стерео схема. Радиола Кантата 205 трансформатор. Принципиальная схема радиолы Кантата м. Схема на радиолу Кантата. Радиола Кантата 205 схема электрическая принципиальная.

Кантата 205 стерео схема. Схема усилителя Ласпи 005 стерео. Усилитель у3м-01ухл4 схема. Схема усилителя Ласпи у-005-1 стерео. Усилитель "Ласпи у-005-1с" схема эдектрическая принципиальная.

Кантата 205 стерео схема

Кантата 205 стерео схема

Кантата 205 стерео схема

Кантата 205 стерео схема. Кантата приемник 205. Кантата 205 блок УКВ. Радиола Кантата 205 стерео. Усилитель из Кантата 205 стерео.

Кантата 205 стерео схема. Электрофон Лидер 205 схема. Лидер 206 стерео схема усилителя. Электрофон Лидер 303 схема. Электрофон Лидер 206 стерео схема.

Кантата 205 стерео схема. Радиола Кантата 205 схема электрическая принципиальная. Кантата 205 стерео схема электрическая. Кантата 205 стерео схема электрическая принципиальная схема. Кантата 205 стерео схема усилителя.

Кантата 205 стерео схема. Усилитель на транзисторе кт805бм. Усилитель на транзисторах кт808ам. Усилитель на транзисторах кт805 и кт837. Схема УМЗЧ на транзисторах кт805.

Кантата 205 стерео схема

Кантата 205 стерео схема

Кантата 205 стерео схема. Блок питания Вега 115 стерео. Схема усилителя Вега 117 стерео. Вега 104 стерео схема электрическая. Проигрыватель Вега 117 схема.

Кантата 205 стерео схема

Кантата 205 стерео схема

Кантата 205 стерео схема

Кантата 205 стерео схема. Приемник трехпрограммный электроника-204 схема принципиальная. Магнитофон Маяк 202 схема электрическая принципиальная схема. Электроника 202 трехпрограммный громкоговоритель схема. Громкоговоритель трехпрограммный Маяк 202 электрическая схема.

Кантата 205 стерео схема. Радиола Кантата 205 схема электрическая принципиальная. Комета 212 стерео схема усилителя. Кантата 204 схема принципиальная. Кантата 205 схема усилителя.

Кантата 205 стерео схема. Радиола Кантата 205 схема электрическая принципиальная. Кантата 205 стерео схема электрическая. Электрическая схема радиолы Кантата 204. Радиола Сириус 309 принципиальная схема.

Кантата 205 стерео схема. Кантата 205 стерео схема электрическая принципиальная схема. Схема УКВ блока океан 222. Радиола Кантата 205 схема электрическая принципиальная. Кантата 205 стерео блока УКВ.

Кантата 205 стерео схема. Урал-112 радиола схема. Радиола Урал 114 схема УНЧ. Урал 112 радиола схема УНЧ. Радиоприемник Урал 112 схема.

Кантата 205 стерео схема. Усилитель Амфитон а1-01-2 схема усилителя. Амфитон а1-01-2 схема усилителя мощности. Усилитель Амфитон схема электрическая принципиальная. Схема усилителя Амфитон а1-01-2у.

Кантата 205 стерео схема

Кантата 205 стерео схема

Кантата 205 стерео схема. Вильма м212с схема. УНЧ на кт 814-815. Стерео усилитель мощности на транзисторах кт814 кт815. Усилитель на кт816 и кт817 схема.

Кантата 205 стерео схема. Кантата 204 схема. Радиола Кантата 204 схема.

Кантата 205 стерео схема. Радиола Урал 112 схема электрическая. Урал 112 схема электрическая принципиальная. Радиола Урал 111 схема электрическая. Приемник Урал 112 схема.

Кантата 205 стерео схема

Кантата 205 стерео схема. Кантата 205 стерео инструкция. Радиола Кантата 205 стерео инструкция. Кантата 205 руководство по эксплуатации. Радиола Кантата паспорт.

Кантата 205 стерео схема. Радиола Кантата 205 схема электрическая принципиальная. Антенна к радиоле Кантата 205. Схема радиолы Кантата 205. Кантата 205 стерео инструкция.

  • Вперед Устройство печки уаз
  • Назад Лимфогранулематоз лечение народными средствами

Новые страницы

Анаэробный гель герметик

Гдз по английскому языку 7 класс ваулина учебник ответы

Иммобилайзер каракурт инструкция

Испортила тормоза в машине чтобы получить наследство

Картинки с днем рождения герман красивые

Кукла чаки картинки

Математика 9 класс тренировочный

Меню на английском языке образец 5 класс

Неяркий словообразовательный разбор

Образец претензии на некачественное оказание услуг и возврат денежных средств

Образец резюме библиотекаря для устройства на работу

Обвязка края изделия схемы

Отдых в кисловодске достопримечательности

Переделка ваз 2114 в ваз 2109

Переходы сварные

По каким признакам мхи относятся к высшим растениям биология

Последовательное соединение резисторов калькулятор

Принципиально электрическая схема печи

Программа тренировок для снижения

Ремонт дверных замков машины

Рисунок рыба чб

Санитария и гигиена на кухне 5 класс технология презентация

Село перевозное удмуртия карта

Схема 10 6 1

Тгик официальный сайт

Труба ре ха

Уборка квартиры генеральная

Возврат займа платежное поручение образец

Вулкан мутновский

Закон ома для участка цепи конспект кратко

cdn.zecar.ru