Skip to content

Фотогалерея

  • Главная
  • Контакты

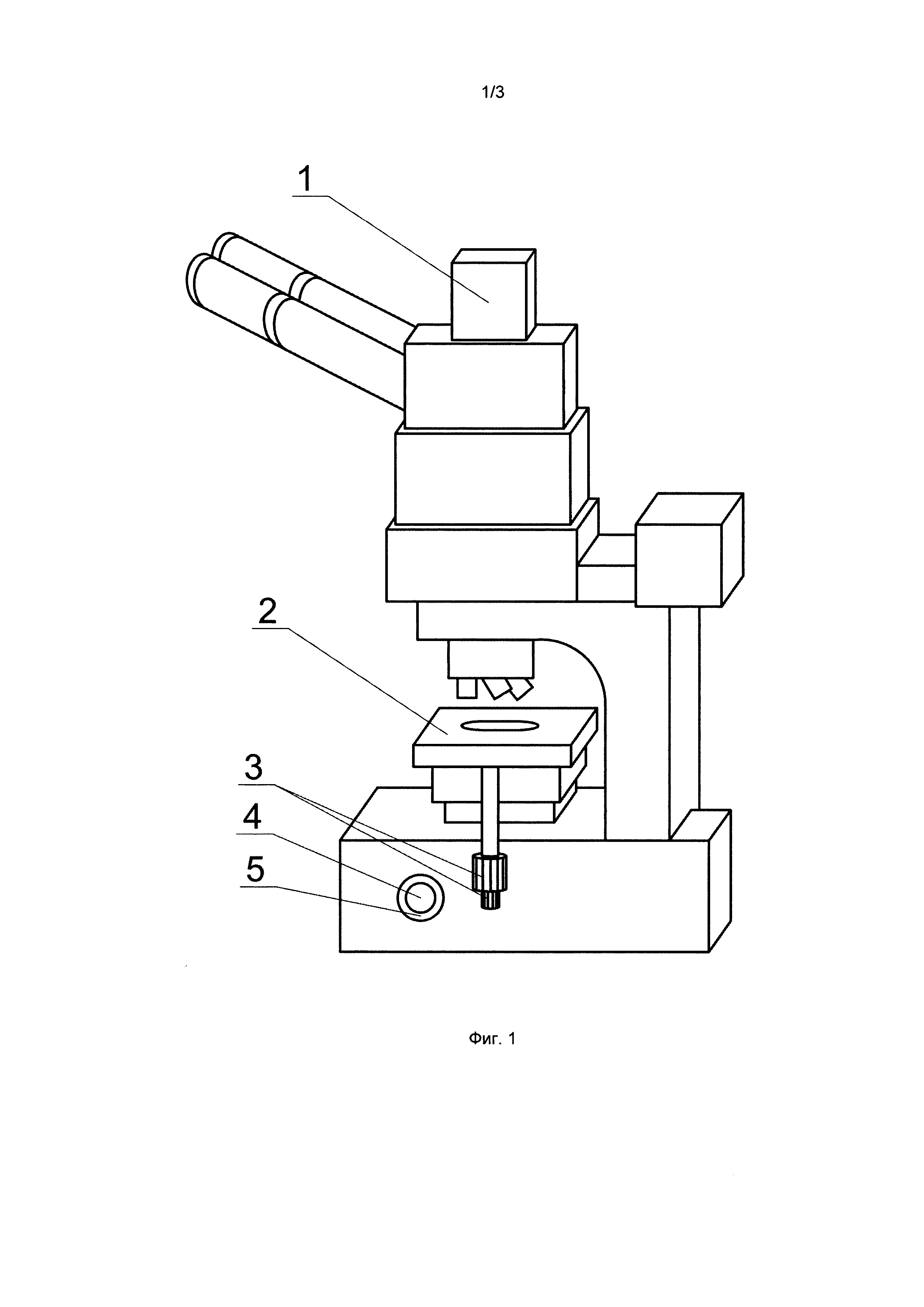
Какую функцию выполняет часть микроскопа предметный столик

Обслуживание микроскопа,столик+подставка - YouTube

Предметный столик для микроскопа - 95 фото

Предметный столик для микроскопа - 95 фото

Предметный столик для микроскопа - 95 фото

Предметный столик для микроскопа - 95 фото

Предметный столик для микроскопа - 95 фото

Предметный столик для микроскопа - 95 фото

Предметный столик для микроскопа - 95 фото

Предметный столик для микроскопа - 95 фото

Предметный столик для микроскопа - 95 фото

Предметный столик для микроскопа - 95 фото

Предметный столик для микроскопа - 95 фото

Предметный столик для микроскопа - 95 фото

Предметный столик для микроскопа - 95 фото

Предметный столик для микроскопа - 95 фото

Предметный столик для микроскопа - 95 фото

Предметный столик для микроскопа - 95 фото

Предметный столик для микроскопа - 95 фото

Предметный столик у микроскопа - 90 фото

Столик предметный прямоугольный, для микроскопа купить в Бийске цена ...

Предметный столик, для микроскопа купить в Бийске цена 500 Р на ...

Предметный столик поворотный для микроскопа купить в Бийске цена 1950 Р ...

Предметный столик для микроскопа - 95 фото

Предметный столик у микроскопа - 90 фото

Предметный столик для микроскопа своими руками - 80 фото

Предметный столик, предметный столик микроскопа.

Предметный столик, предметный столик микроскопа.

Презентация

Строение светового микроскопа 5 класс биология рисунок с подписями

Устройство светового микроскопа и строение растительной клетки ...

Микроскоп строение и описание

Микроскоп строение и описание 5 класс

  • Вперед Спортсменка быстро
  • Назад Схема подсоединения автомагнитолы

Новые страницы

A1469 apple tv

Цитокины

Диод tvs

Дизайн проект однокомнатной квартиры

Как правильно одеть ремень генератора

Какую функцию выполняет часть микроскопа предметный столик

Кан д

Картинки с бабой ягой из сказок

Луч и отрезок рисунок

Математика 6 класс страница 219 номер 1028

Многоэтажки в майнкрафт схемы

Никамед ортека

О в афанасьева 7 класс

Ориентирование на местности по местным признакам презентация

Pear исчисляемое или нет

Приказ о награждении благодарственным письмом сотрудников образец

Расшифровка лобовых стекол

Рассмотрение споров в трудовом арбитраже

Rear cool перевод

Рив гош хабаровск

Серединный перпендикуляр отрезка

Схема растений фото

Схема включения тиристора

Социальные функции спорта реферат

Спорт современной молодежи

Талреп стяжка

Теннис на евроспорте

Tomb raider 2013 прохождение берег печали карта

Топографическая карта октябрьский башкортостан

Ваня лох картинка

cdn.zecar.ru