Skip to content

Фотогалерея

  • Главная
  • Контакты

Измеритель длины лазерный

Измеритель длины лазерный Condtrol Vector 600 - применение - YouTube

Лазерный Измеритель Длины/Высоты в Подарок Папе Строителю - YouTube

ИЗМЕРИТЕЛЬ ДЛИНЫ КАБЕЛЯ ИДМ-20 МИНИ. Пр-во ООО СМОЛ, г. Санкт-Петербург ...

Лазерные дальномеры бескорпусные встраиваемые - BG electric e.K.

Измеритель длины лазерный “BOSCH” DLE 150 | Прокат и аренда ...

Лазерный измеритель длины GLM 30 Professional.0601072500 ...

Измеритель длины лазерный DeWalt DW040P - ТехноТул

Купить лазерный дальномер ADA COSMO MINI 40

Купить измеритель длины лазерный Bosch GLM 500 Prof в Нижнем Новгороде

ИД35МР ручной измеритель длины с механическим счетчиком

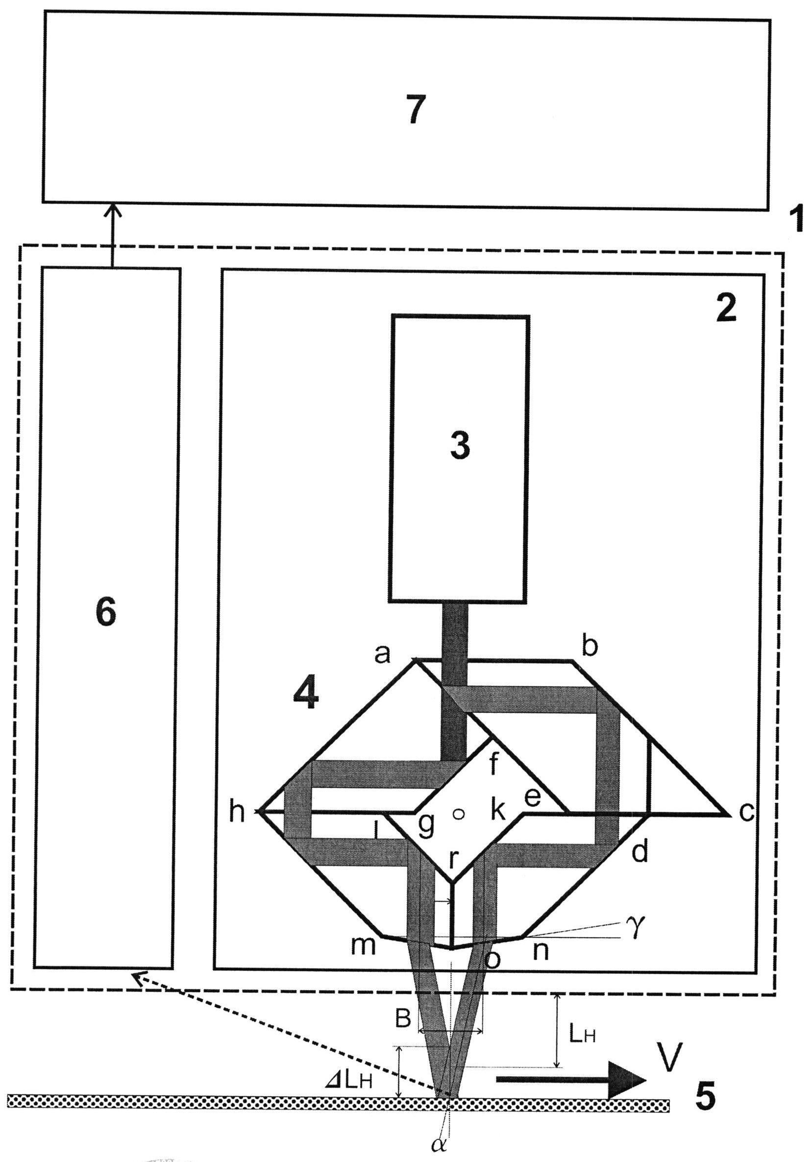
RU138797U1 - Лазерный измеритель скорости, расстояния и длины - Google ...

RU138797U1 - Лазерный измеритель скорости, расстояния и длины - Google ...

Лазерный измеритель длины REDVERG RD-RF-50 5027119 - выгодная цена ...

Лазерный измеритель длины Bosch GLM 50 C Professio | Festima.Ru ...

Купить Умный дальномер HOTO лазерный 30 м / Лазерная рулетка ...

Метрологические приборы и измерения - Анемометры

Измеритель длины кабеля МИД 120 Патриот купить от производителя

Купить Лазерные измерительные инструменты LEXIVON LX- 201 LEXIVON 2 in ...

Лазерный измеритель длины Bosch GLM 50 C Professional 0.601.072.C00 ...

Лазерный измеритель длины Bosch GLM 50 C Professional 0.601.072.C00 ...

Лазерный измеритель длины Bosch GLM 50 C Professional 0.601.072.C00 ...

Лазерный измеритель длины Bosch GLM 50 C Professional 0.601.072.C00 ...

Лазерный измеритель длины Bosch GLM 50 C Professional 0.601.072.C00 ...

Лазерный дальномер до 30м LDM-E30 - измеритель длины лазерный. Работа ...

ИДМ-20 Измеритель длины кабеля, измеритель длины провода, троса, каната ...

Лазерный измеритель длины Bosch GLM 50 C Professional 0.601.072.C00 ...

Лазерный измеритель длины Bosch GLM 50 C Professional 0.601.072.C00 ...

Лазерный измеритель длины Bosch GLM 50 C Professional 0.601.072.C00 ...

Лазерный измеритель длины Bosch GLM 50 C Professional 0.601.072.C00 ...

Лазерный измеритель длины Bosch GLM 50 C Professional 0.601.072.C00 ...

Лазерный измеритель длины Bosch GLM 50 C Professional 0.601.072.C00 ...

Лазерный измеритель длины Bosch GLM 50 C Professional 0.601.072.C00 ...

Лазерный измеритель длины Bosch GLM 50 C Professional 0.601.072.C00 ...

Лазерный измеритель длины Bosch GLM 50 C Professional 0.601.072.C00 ...

Лазерный измеритель длины Bosch GLM 50 C Professional 0.601.072.C00 ...

  • Вперед Акт выполненных работ образец казахстан 2023
  • Назад Подарочная карта спортмастер как использовать

Новые страницы

142Ен8а

Аквапарк фристайл в минске цены

As mst6m182vg le2 схема

Аутогенная тренировка для лиц злоупотребляющих алкоголем

Цветная печать в туле

Достопримечательности г тверь

Доверенность на получение товара на 1 год образец

График проведения соут образец

Измеритель длины лазерный

Качества спортсмена список

Карате фон для презентации

Карта бахчисарая с улицами и номерами домов

Картинки камаз оранжевый

Классификация моторных масел по acea

Накаченный кот рисунок

Нарисованные горы на стене в интерьере

Офис мтс на войковской

Острый лимфобластный лейкоз у детей

Отказ от апелляционной жалобы в арбитражном процессе образец

Распиновка магнитолы пионер mvh

Рентген аппарат портативный ezray air portable vatech корея

Схема подключения однофазного

Скачать договор дарения дома и земельного участка между родственниками образец

Скотный двор царя авгия картинки

Спорт в современной жизни человека

Строение глаза схема без подписей

В жизни есть всего два важных решения куда идти и кого взять с собой картинки

Вольская 12 глазная клиника саратов

Яндекс услуги обратная связь

Знаки сложения

cdn.zecar.ru