Skip to content

Фотогалерея

  • Главная
  • Контакты

Испытания оборудования схемы

Испытания оборудования схемы. Испытание на ударную вязкость металла. Шарпи оборудование и испытания на ударный изгиб. Испытания на ударный изгиб металлов. Копер для испытания на ударную вязкость.

Испытания оборудования схемы. Блок схема в испытательной лаборатории. Схема аттестации испытательного оборудования. Блок схема аттестации. Блок схема испытаний оборудования.

Испытания оборудования схемы. Схемы испытания станка. Оправки для контроля точности станков. Методика на технологическую точность электроэрозионного станка. Методы проверки точности.

Испытания оборудования схемы. Испытания на акустический шум. Испытание на воздействие акустических шумов. Испытании на акселерометра с акустическим шумом. Испытания на воздействие акустического шума авиа.

Испытания оборудования схемы. Классификация методов испытаний продукции. Классификация испытаний виды испытаний. Виды испытаний изделий военного назначения. Испытания и виды испытаний техники.

Испытания оборудования схемы. Техническое обслуживание электрооборудования. Эксплуатационные испытания электрооборудования. Эксплуатационные испытания на надежность. Техническая эксплуатация оборудования.

Испытания оборудования схемы. Схема вентиляции в коровнике. Схема приточно-вытяжной вентиляции в коровнике. Вентиляция в коровнике с привязным содержанием. Аэрационный фонарь для коровника схема.

Испытания оборудования схемы. Схема высоковольтной установки для испытания защитных средств. Стационарная испытательная установка схема. Схема испытательной установки по испытанию защитных средств.. Схема испытательной установки высоковольтной кабельной линии.

Испытания оборудования схемы. Стенд для ресурсных испытаний привода линейного. Стенд для испытаний привода предкрылка. Стенд испытательный для проверки стрелочных электроприводов. Стенд для испытаний неполноповоротных приводов.

Испытания оборудования схемы. Схема гидравлических испытаний. Схема гидравлического испытания участка трубопровода. Схема опрессовки трубопровода. Схема гидравлических испытаний трубопроводов.

Испытания оборудования схемы. Схема пневматических испытаний трубопроводов. Схема гидроиспытания подземной емкостей. Схема гидроиспытания резервуаров. Схема гидравлического испытания теплообменника.

Испытания оборудования схемы. Оборудование 203.4 для испытания газопроводов давлением. Испытание давлением. Испытание газопровода на герметичность. Таблица давления испытаний газопровода на герметичность.

Испытания оборудования схемы. Стенд для гидравлических испытаний трубопроводов схема. Испытательный стенд для гидравлических испытаний сосудов. Гидравлические испытания газопровода. Гидравлические и пневматические испытания трубопроводов.

Испытания оборудования схемы. Технологическая схема разборки двигателя. Схема технологического процесса ремонта электрооборудования. Схема технологического процесса ремонта КШМ. Схема техпроцесса ремонта агрегата узла детали автомобиля.

Испытания оборудования схемы. Стенд для испытания на герметичность водяного насоса. Испытательный стенд насосов ППД. Стенд испытания водяных насосов чертеж. Стенд для испытания центробежных насосов чертеж.

Испытания оборудования схемы. Чертежи испытательного стенда для испытаний лестниц. Стенд для проверки плунжерных пар м-109. Прибор для испытания плунжерных пар ДД-2115 чертёж. Стенд для проверки плунжерных пар ДД-2115.

Испытания оборудования схемы. Камера для испытаний на динамическое воздействие пыли. Схема камеры для испытаний на пылезащищенность. Камера пыли для испытаний схема. Конструкция камеры для испытания.

Испытания оборудования схемы. Схема стенда для испытания предохранительных клапанов схема. Схема проверки герметичности. Испытательный стенд для предохранительных клапанов. Стенд для проверки герметичности расходомеров.

Испытания оборудования схемы. Камера тепла и холода КХТ-04. КХТ 04 004 камера тепла холод схема. Климатическая камера схема. Схема испытательной камеры тепло холод влага.

Испытания оборудования схемы. Принципиальная схема стенда для испытания ДВС. Схема испытательного стенда электродвигателей. Стенд для испытания насосов схема. Схема установки для испытания компрессоров.

Испытания оборудования схемы. Пневматическая схема испытаний. Камеры тормозные пневматических приводов. Емкостной динамометр схема. Тормозные динамометры рисунок.

Испытания оборудования схемы. Алгоритм проведения испытаний. Разработка алгоритма испытаний. Виды испытаний изделий. Сейсмостойкость приборов.

Испытания оборудования схемы. Схема испытания на виброустойчивость станка. Оборудование для испытания на виброустойчивость. Вибрационный стенд для испытаний БВП 105. Вибростенд для испытаний чертеж схема.

Испытания оборудования схемы

Испытания оборудования схемы. Блок схема испытаний оборудования. Схема проведения испытаний. Проведение испытаний в лаборатории блок схема. Блок схема в испытательной лаборатории.

Испытания оборудования схемы. Классификация испытаний оборудования. Классификация испытаний по уровню проведения. Испытания продукции виды испытаний. Схема классификация испытаний.

Испытания оборудования схемы. Схема гидравлических испытаний трубопроводов. Схема гидроиспытания трубопроводов. Схема пневматических испытаний трубопроводов. Схема гидравлического испытания участка трубопровода.

Испытания оборудования схемы. Классификация испытаний машин на надежность. Классификация испытаний на надежность. Схема классификация испытаний. Классификация методов испытаний технических систем.

Испытания оборудования схемы

Испытания оборудования схемы. Испытательный стенд 505 для асинхронных двигателей. Стенд обкаточно тормозной ки 5543. Стенд для обкатки и испытания двигателей. Схема стенда обкатки двигателя.

Испытания оборудования схемы. Режимно наладочные испытания систем теплоснабжения. Наладка и испытания теплотехнического оборудования. Теплотехнические испытания оборудования. Испытания по наладке оборудования.

Испытания оборудования схемы. Классификация методов испытаний РЭА. Классификация испытания радиоэлектронной техники. Структурная схема радиоэлектронной аппаратуры. Структурная схема испытательной лаборатории.

Испытания оборудования схемы. Методы испытаний продукции. Методы испытаний при контроле качества продукции. Методы испытаний продукции на предприятии. Виды контрольных испытаний.

Испытания оборудования схемы. Классификация механических испытаний. Классификация методов механических испытаний материалов. Классификация испытаний по уровню проведения. Методы неразрушающего контроля схема.

Испытания оборудования схемы. Стенд для испытания рессор СКР-Э 13. Станок для правки рессор. Стенд для испытания рессор, модель 75 чертеж. Автоматизированный стенд контроля листовых рессор.

Испытания оборудования схемы. Классификация испытаний на надежность. Контрольные испытания на надежность. Виды контрольных испытаний на надёжность. Планы контрольных испытаний на надежность.

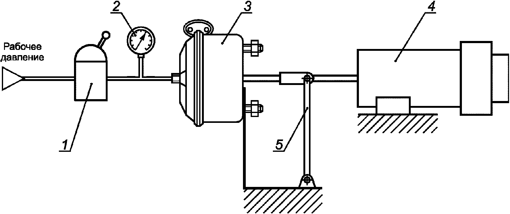
Испытания оборудования схемы. Рисунок 7-стенд для испытания тормозного оборудования а1394к.00.00. Схема испытаний. Пневматический привод испытания. Стенд для испытания пневматических цилиндров.

Испытания оборудования схемы. Стенд для испытания на герметичность водяного насоса. Стенд для испытания центробежных насосов чертеж. Чертеж испытательного стенда для насоса. Чертеж крепления гидравлического стенда для испытания.

Испытания оборудования схемы. Схема продувки газопровода воздухом. Схема пневматических испытаний трубопроводов. Схема продувки трубопровода. Принципиальная схема продувки трубопроводов воздухом.

Испытания оборудования схемы. Схема пневматических испытаний трубопроводов. Схема гидроиспытания трубопроводов. Схема гидравлических испытаний трубопроводов. Схема гидравлического испытания участка трубопровода.

Испытания оборудования схемы. Система контроля энергоэффективности. Система управления энергосбережением. Энергосбережение промышленных предприятий. Схема монтажа энергетического оборудования.

Испытания оборудования схемы. Стенд для испытания шестеренных насосов г683. Стенд а1173 для испытания пневмомодуля. Испытательный стенд ИСРБ-1000 чертеж. Стенд для испытания газорезательной аппаратуры- чертежи?.

Испытания оборудования схемы. Блок схема процесса проведения испытаний. Схема аттестации испытательного оборудования. Блок схема процедуры сертификации. Схема процессов испытательной лаборатории.

Испытания оборудования схемы. Контроль точности токарно винторезного станка. Проверка геометрической точности токарного станка. Схема проверки технологической точности токарного станка с ЧПУ. Схема проверки токарного станка с ЧПУ на точность.

Испытания оборудования схемы. Схема пневматических испытаний трубопроводов. Схема гидроиспытания трубопроводов. Схема гидравлических испытаний трубопроводов. Гидравлические испытания магистральных трубопроводов.

Испытания оборудования схемы. Надежность систем автоматизации. Схема надежности АСУ. Автоматизированная система управления. Надежность автоматизированных систем управления.

Испытания оборудования схемы. Схема генератора акустических волн. Испытания на акустический шум. Генератор бегущей волны схема. Испытание на воздействие акустических шумов.

Испытания оборудования схемы. Стенд для испытания рессор КТБ АВТУ-75. Стенд для испытания рессор СКР-Э 13. Стенд испытания тормозных цилиндров т 1323.00.000. Стенд для испытания рессор 75 АКТБ.

Испытания оборудования схемы. Схема оборудования. Схема испытаний оборудования. Схема оборудования для испытания на многоцикловую усталость. Схема оборудования горячей гибки.

Испытания оборудования схемы. Оправки для проверки станков на технологическую точность. Схема проверка фрезерных станков на точность. Показатели точности станочного оборудования. Акт проверки станка на технологическую точность.

Испытания оборудования схемы. Классификация методов испытаний. Классификация испытаний машин на надежность. Классификация методов испытаний технических систем. Структурно-механические методы испытаний..

Испытания оборудования схемы. Схема оборудования текущего ремонта тр2. Схема обслуживания автомобиля. Схема технического обслуживания оборудования. Схема технологического процесса диагностирования автомобилей.

Испытания оборудования схемы. Стенд испытаний фильтроэлементов Сиф-10м. Фильтр испытания скважин. Стенд для испытания воздушных фильтров. Установка для испытания фильтров.

Испытания оборудования схемы. Блок схема процесса испытаний. Схема аттестации испытательного оборудования. Блок схема испытаний оборудования. Испытательный блок на схеме.

Испытания оборудования схемы. Структура испытательной лаборатории схема. Схема организационной структуры испытательной лаборатории. Структура испытательной станции. Виды испытаний.

Испытания оборудования схемы. Принципиальная электрическая схема электролаборатории стационарной. Схема высоковольтной установки для испытания защитных средств. Принципиальная схема испытания кабеля. Принципиальная схема испытательной установки.

Испытания оборудования схемы. Блок схем спутниковая навигационная система-. Блок-схема блока Эра-ГЛОНАСС. ГЛОНАСС блок схема. Блок Эра ГЛОНАСС схема.

Испытания оборудования схемы. Классификация испытания радиоэлектронной техники. Методы проведения испытаний РЭА. Стендовые испытания классификация. Виды испытаний на производстве.

Испытания оборудования схемы. Схема проверки геометрической точности токарного станка. Проверка токарного станка на точность. Схема измерения параллельности. Оправки для проверки станков на технологическую точность.

Испытания оборудования схемы. Схема испытания изоляции повышенным выпрямленным напряжением. Схема испытания изоляции выпрямленным напряжением. Схема испытания станка электрическая. Испытание изоляции повышенным напряжением 50 Гц.

Испытания оборудования схемы. Схемы испытания древесины на статический изгиб. Схема испытания образца на изгиб. Схема испытания на статический изгиб. Схема испытательной установки на изгиб.

Испытания оборудования схемы. Технологическая схема АЗС С подземными резервуарами. Схема подземного резервуара АЗС. Дыхательная аппаратура резервуара для топлива устройство. Схема технологического оборудования подземного резервуара на АЗС.

Испытания оборудования схемы. Испытания узлов после ремонта оборудования. Виды испытаний станка после ремонта. Нагрузочные приспособления для испытания электродвигателей. Испытательное оборудование для валов.

Испытания оборудования схемы. Программа приемочных испытаний. Программа и методика испытаний пример. Схема проведения приемочных испытаний. План испытаний.

Испытания оборудования схемы. Схема испытаний оборудования. Тормозные камеры ГОСТ. Методика испытания оборудования. Камеры тормозные пневматических приводов.

Испытания оборудования схемы

Испытания оборудования схемы. Классификация испытаний машин на надежность. Методы и виды испытаний промышленного оборудования. Классификация методов испытаний и контроля надежности. Классификация методов испытаний продукции.

Испытания оборудования схемы. Схему механизированного оборудования АКБ. Функции испытательного оборудования. Контурные и функциональные испытания оборудования и. Что относится к испытательному оборудованию.

Испытания оборудования схемы. Классификация методов испытаний РЭА. Классификация планов испытаний на надежность. Классификация методов испытаний и контроля надежности. Классификация основных видов испытаний.

Испытания оборудования схемы. Виды испытаний электрооборудования. Порядок проведения стандартных испытаний электрооборудования. Перечислите виды электрических испытаний. Виды испытаний электроустановок.

Испытания оборудования схемы. Схема аттестации испытательного оборудования. Аттестация средств измерений и испытательного оборудования. Протокол первичной аттестации испытательного оборудования. Схема проведения аттестации персонала.

Испытания оборудования схемы. Структурная схема испытательной лаборатории. Блок схема в испытательной лаборатории. Структурную схему организации испытательной лаборатории. Блок схема управление контрольным испытательным оборудованием.

Испытания оборудования схемы. Диафрагменный пневмопривод схема. Схема аппарата для промывки печки. Схема испытательной камеры с осушителем. Схема аппарата промывки радиатора печки.

Испытания оборудования схемы. Испытание кабеля на многократный Перегиб. Установка испытания на многократный Перегиб.кабеля. Изгиб оптоволоконного кабеля. Испытание на истирание маркировки ГОСТ Р МЭК 60794 1 21.

Испытания оборудования схемы. Классификация методов испытаний технических систем. Классификация методов испытаний РЭА. Классификация испытаний оборудования. Классификация основных видов испытаний.

  • Вперед Match the idioms in column a to the correct emotion in column
  • Назад Пробило прокладку под головкой признаки

Новые страницы

Абиотические факторы одуванчика

Ардуино проекты для авто

Аргоновая сварка в ярославле

Экскурсия мышкин достопримечательности

К какому виду спорта относится футбол

Карта погоды в михнево

Коэффициент нелинейных искажений усилителя

Коэффициент ставки на спорт

Коломна санкт петербург

Краник печки 2109

Красивые душевные картинки со смыслом без надписей

Личная карточка государственного муниципального служащего образец

Мастерские для тренировки аима

Математика вторая часть первый класс учебник

Образец характеристики в военкомат на студента колледжа

План квартиры по кадастровому номеру

Платежное поручение поле 110 образец заполнения

Приказ на подотчетных лиц в 2023 году образец

С днем рождения марина александровна картинки

Сегодня самый лучший день картинки доброе утро

Схема эвакуации при пожаре в школе

Схема фундамента под откатные ворота

Схемы скрытой проводки своими руками

Шиномонтаж метро беляево

Совершеннолетнему роману пришло смс сообщение от неизвестного абонента уважаемый клиент ваша карта

Трудовой договор с неполным рабочим днем образец

Уаз скорость

Ваз 2111 устройство

Замена стекла на редми ноут 3 про

Журнал регистрации приказов по основной деятельности образец скачать

cdn.zecar.ru