Skip to content

Фотогалерея

  • Главная
  • Контакты

Испытание электрической схемы

Испытание электрической схемы. АИИ-70 схема электрическая принципиальная. Аппарат АИИ - 70 схема. Схема испытательной установки АИИ-70. Принципиальная электрическая схема аппарата аид-70.

Испытание электрической схемы. Реле обратной мощности схема. Электрическая принципиальная схема испытания реле. Схема проверки самохода реле мощности. Схема проверки характеристик реле постоянного тока.

Испытание электрической схемы. Блок сервомотора БС-1. Исполнительный механизм пр-1м схема подключения. Блок сервопривода БС-3. Др-1м исполнительный механизм схема подключения.

Испытание электрической схемы

Испытание электрической схемы. Схема соединения для проверки генератора на стенде. Схема подключения генератора для проверки. Схема соединений проверки генератора. Схема проверки автомобильного генератора.

Испытание электрической схемы

Испытание электрической схемы. Электромагниты переменного тока схема. Принципиальная схема электромагнита. Электромагнит схема электрическая принципиальная. Схема подключения электромагнита.

Испытание электрической схемы. Схема испытания реле времени. Промежуточное реле на электрической схеме. Схема замедления срабатывания реле. Схема проверки одновременности замыкания контактов реле..

Испытание электрической схемы. Поточная линия ремонта тяговых электродвигателей. Схема испытания двигателя переменного тока. Схема высоковольтных испытаний электродвигателя. Электрический тормоз постоянного тока для испытаний двигателей.

Испытание электрической схемы

Испытание электрической схемы. Электрический метод испытания. Разрядник шаровой на схеме. ГОСТ 6581 прибор. Электрический метод испытания кратко.

Испытание электрической схемы. Кран РДК 250 схема электрическая принципиальная. Вибропресс схема электрическая принципиальная. Вибропресса электрическая схема принципиальная. Схема электрическая принципиальная вибрационной.

Испытание электрической схемы

Испытание электрической схемы

Испытание электрической схемы. Принципиальная схема испытания диэлектрических перчаток. Принципиальная электрическая схема электролаборатории стационарной. Принципиальная схема испытания диэлектрических перчаток бот и галош. Схема установки для испытания диэлектрических перчаток.

Испытание электрической схемы. 15 Функциональная схема испытаний электрических машин.. Испытания машин постоянного тока.

Испытание электрической схемы. 15 Функциональная схема испытаний электрических машин.. Схема измерения е1. Helos схема измерения. E8363b анализатор цепей схема измерений.

Испытание электрической схемы. Схема испытаний тяговых электродвигателей. Послеремонтные испытания машин постоянного тока. Принципиальная схема испытания электродвигателей. 15 Функциональная схема испытаний электрических машин..

Испытание электрической схемы

Испытание электрической схемы

Испытание электрической схемы. Принципиальная электрическая схема электролаборатории. Принципиальная электрическая схема ТСН-160. Сварочный стенд схема электрическая принципиальная. Схема электрическая принципиальная и испытание.

Испытание электрической схемы

Испытание электрической схемы

Испытание электрической схемы. Электроснабжение стоматологического кабинета схема. Согласование однолинейных схем ответственным за электрохозяйство. Однолинейная схема подписанная ответственным за электрохозяйство. Ответственный за электрохозяйство на схеме.

Испытание электрической схемы. Схема испытания диэлектрических перчаток. Принципиальная схема испытания диэлектрических перчаток. Нормы испытания диэлектрических перчаток. Диэлектрические перчатки ток утечки испытания.

Испытание электрической схемы. Схема измерения сопротивления изоляции 220в. Схема измерения сопротивления изоляции ИТ. Схема замер сопротивления изоляции кабеля.

Испытание электрической схемы. Электро схема стенда проверки генератора. Схема подключения генератора на стенде для проверки. Схема испытания генератора. Схема электрической нагрузки генератора.

Испытание электрической схемы

Испытание электрической схемы. Модель электрической схемы. Макет электрической схемы. Электрическая схема человека. Построить модель электрическая схема.

Испытание электрической схемы. Генератор ударного возбуждения схема. Контур ударного возбуждения схема. Схема взаимной нагрузки. Контур ударного возбуждения и его разновидности.

Испытание электрической схемы. Схема испытаний тяговых двигателей. Схема стенда для испытания тяговых электродвигателей. Принципиальная схема передвижной электролаборатории. 15 Функциональная схема испытаний электрических машин..

Испытание электрической схемы. Схема испытания изоляции трансформатора. Схема измерения сопротивления изоляции трансформатора. Схема испытания обмоток силового трансформатора. Схема испытания изоляции обмотки.

Испытание электрической схемы

Испытание электрической схемы. Схема испытания электродвигателя. Схема испытаний тяговых двигателей. 15 Функциональная схема испытаний электрических машин.. Принципиальная схема испытания электродвигателей.

Испытание электрической схемы

Испытание электрической схемы

Испытание электрической схемы

Испытание электрической схемы. Схема на электрическую прочность изоляции. Методы измерения электрической прочности. Схема испытания электрической прочности изоляции. Методика определения электрической прочности диэлектриков?.

Испытание электрической схемы

Испытание электрической схемы

Испытание электрической схемы. Принципиальная схема генератора переменного тока автомобиля. Электрическая схема генератора переменного тока. Электрическая схема генератора постоянного тока. Принципиальная схема генератора постоянного тока.

Испытание электрической схемы. Схемы испытания кабельных изделий напряжением. Схема испытания электрической прочности изоляции кабелей. Схема на электрическую прочность изоляции. Методика испытаний кабельной продукции-.

Испытание электрической схемы. Блок-схема измерительной цепи:. Измерительная цепь. Сложная измерительная цепь. Измерительная цепь в измерительном приборе.

Испытание электрической схемы. Принципиальная схема испытания диэлектрических перчаток. Принципиальная схема испытания диэлектрических измерений. Схема испытания жесткой накладки. Схема испытания диэлектрических бот.

Испытание электрической схемы

Испытание электрической схемы

Испытание электрической схемы

Испытание электрической схемы. Параллельное соединение амперметров. Схема параллельного соединения с 2 амперметрами. Схема параллельного соединения с амперметром и вольтметром. Параллельное соединение 3 проводников.

Испытание электрической схемы. Схема испытания трансформатора повышенным напряжением. Трансформатор повышающий напряжение схема. Трансформатор для прожига кабеля схема. Схема испытания трансформатора напряжения повышенным напряжением.

Испытание электрической схемы. Принципиальная электрическая схема электролаборатории. 13ун-1 стенд схема. 13ун-1 стенд обслуживания электрооборудования. 13ун-1 стенд обслуживания электрооборудования схема.

Испытание электрической схемы. Цепи постоянного тока онлайн. Гипотеза Кирхгофа. Передаточная функция Кирхгофа.

Испытание электрической схемы

Испытание электрической схемы. Принципиальная электрическая схема соединения элементов. Принципиальная схема электрической цепи. Порядок чтения электрической принципиальной схемы. Чтение электрических принципиальных схем.

Испытание электрической схемы

Испытание электрической схемы

Испытание электрической схемы

Испытание электрической схемы

Испытание электрической схемы

Испытание электрической схемы. Схема высоковольтной установки для испытания кабеля. Схема испытательной установки высоковольтной кабельной линии. Схема испытания кабеля повышенным напряжением. Схема испытания изоляции повышенным напряжением.

Испытание электрической схемы. Реле утечки РУП 380/220. Реле утечки РУП 380/220 схема подключения. Реле утечки тока схема. РУП 380/220 схема подключения.

Испытание электрической схемы. Схема взаимной нагрузки. Стенд для испытания электродвигателей методом взаимной нагрузки. Испытания Тэд методом взаимной нагрузки. Схема электроиспытаний.

Испытание электрической схемы

Испытание электрической схемы. Обозначение усилителя на функциональной схеме. Схема электрическая функциональная операционный усилитель.

Испытание электрической схемы

Испытание электрической схемы

Испытание электрической схемы

Испытание электрической схемы

Испытание электрической схемы. Схема проверки минимального напряжения срабатывания реле.. Электрическая принципиальная схема испытания реле. Схема испытания реле тока. Реле ИВГ схема.

Испытание электрической схемы

Испытание электрической схемы. Испытание изоляции повышенным напряжением схема аппарата. Схема испытания трансформатора повышенным напряжением. Схема высоковольтной установки для испытания кабеля. Схема испытания изоляции повышенным напряжением.

Испытание электрической схемы. Мегаомметр эс0210 схема. Мегаомметр эс0202/2-г схема принципиальная электрическая. Мегаомметр ЭСО 202 Г схема. Мегаомметр ф4102/2 схема электрическая.

Испытание электрической схемы

Испытание электрической схемы. Схема испытания электрической прочности изоляции. Схема испытания указателей напряжения до 1000в. Схема высоковольтного испытания изоляции кабеля. Принципиальная схема испытания электрической прочности изоляции.

Испытание электрической схемы

Испытание электрической схемы. Схема высоковольтной установки для испытания кабеля. Схема испытательной установки высоковольтной кабельной линии. Принципиальная электрическая схема электролаборатории. Принципиальная схема передвижной электролаборатории.

Испытание электрической схемы. Испытание изоляции переменным напряжением схема. Схема испытания электродвигателя повышенным напряжением. Схема аппарата для испытания изоляции. УПУ-10м схема электрическая.

Испытание электрической схемы. Схемы проверки электрических цепей. Проверка Эл. Цепей. Испытательные схемы проверки правильности сборки вторичных цепей та. Проверка правильности сборки и монтажа схемы.

Испытание электрической схемы

Испытание электрической схемы

Испытание электрической схемы

Испытание электрической схемы

Испытание электрической схемы

Испытание электрической схемы. Решить задачу по Электротехнике для техникума по схеме. Задача по Электротехнике 2.77. Задачи по электроприводу с решением для техникума. Задачи по Электротехнике с решениями для студентов вузов с решениями.

Испытание электрической схемы

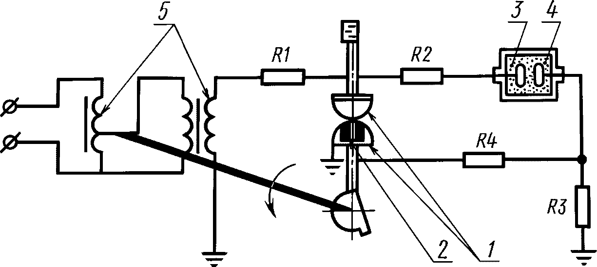
Испытание электрической схемы. Электрическая схема АИИ 70. АИИ-70 схема электрическая принципиальная. Схема выпрямленного оперативного тока. Схема испытания контакторов.

Испытание электрической схемы. Схема высоковольтного учета электроэнергии. Трансформаторная схема учёта электроэнергии. Схема электрическая с учёта электроэнергии с. Измерительные схемы учета электроэнергии.

Испытание электрической схемы

  • Вперед Виза в италию
  • Назад Машина акура

Новые страницы

18650 Аккумулятор с защитой

Аборигены в австралии

Английский 6 класс стр 74 номер 4

Атлет спорт

Чайковский детский альбом баба яга слушать

Джетта и бора отличие

Гдз ру 6 класс русский язык ладыженская 2 часть

Гостиница москва шереметьево

Иск о восстановлении срока для принятия наследства образец

Исузу эбу распиновка

Кан шина на приоре

Карта тольятти автозаводской район по кварталам

Картины иконы георгия победоносца

Киа про сид

Контур закупки официальный сайт

Крановая установка ивановец

Кроссоверы для акустики что это

Написать записку в школу об отсутствии ребенка по семейным обстоятельствам образец

Нлп обучение

Ограниченность ресурсов испытывают все страны но одни называются бедными

Отдых в тренировочном процессе

Плетение крестиком из бисера схемы

Погода в торжке карта осадков на сегодня

Работа доставка в москве вакансии от прямых

Решетка для двери вентиляционная

Схема включения скоростей

Штативная лупа строение

Спортивная девушка соло

Впр по географии 7 класс образец ответы

Все для теплого пола водяного интернет магазин

cdn.zecar.ru