Skip to content

Фотогалерея

  • Главная
  • Контакты

Гелиевый течеискатель пти 10

Течеискатель гелиевый масс-спектрометрический ПТИ-10

Гелиевый течеискатель для проверки герметичности вакуумных систем ...

Течеискатель Гелиевый Пти-10 Инструкция Эксплуатации - schoolsinstruction

Пти-10 течеискатель гелиевый купить в Зеленограде | Товары для дома и ...

Гелиевый течеискатель для проверки герметичности вакуумных систем ...

Гелиевый течеискатель для проверки герметичности вакуумных систем ...

Гелиевый течеискатель: течеискатель ПТИ, течеискатель ASM, течеискатель ...

Продажа ГЕЛИЕВЫЕ ТЕЧЕИСКАТЕЛИ ПТИ-10;ТИ1-17;ТИ1-14 в г Москва ...

Гелиевый течеискатель: Гелиевый течеискатель ПТИ, гелиевый течеискатель ...

Купить Гелиевый течеискатель ESFJ-261 | Доставка по РФ

Течеискатель гелиевый вакуума для контроля герметичности - принцип ...

Гелиевый течеискатель: Гелиевый течеискатель ПТИ, гелиевый течеискатель ...

Гелиевые течеискатели масс-спектрометрические, цифровые, портативные ...

Течеискатель гелиевый вакуума для контроля герметичности - принцип ...

Гелиевые течеискатели KYKY

Гелиевый течеискатель NHJ 400 купить по цене 135388 рублей от ...

Купить Гелиевый течеискатель ESFJ-211 | Доставка по РФ

Гелиевый течеискатель, виды и параметры | Rostovprodukt.ru

Гелиевый Течеискатель Leybold Phoenix Quadro Dry | ЦМН

Гелиевый течеискатель PHOENIX quadro от Leybold GmbH подробный обзор ...

Гелиевые течеискатели – производители гелиевых течеискателей. Отличия ...

Течеискатель масс-спектрометрический гелиевый ZQJ-Vactron - ВАКТРОН ...

Разновидности течеискателей. Гелиевый течеискатель, галоидный ...

Гелиевый течеискатель NHJ 400 купить по цене 135388 рублей от ...

Гелиевые течеискатели – производители гелиевых течеискателей. Отличия ...

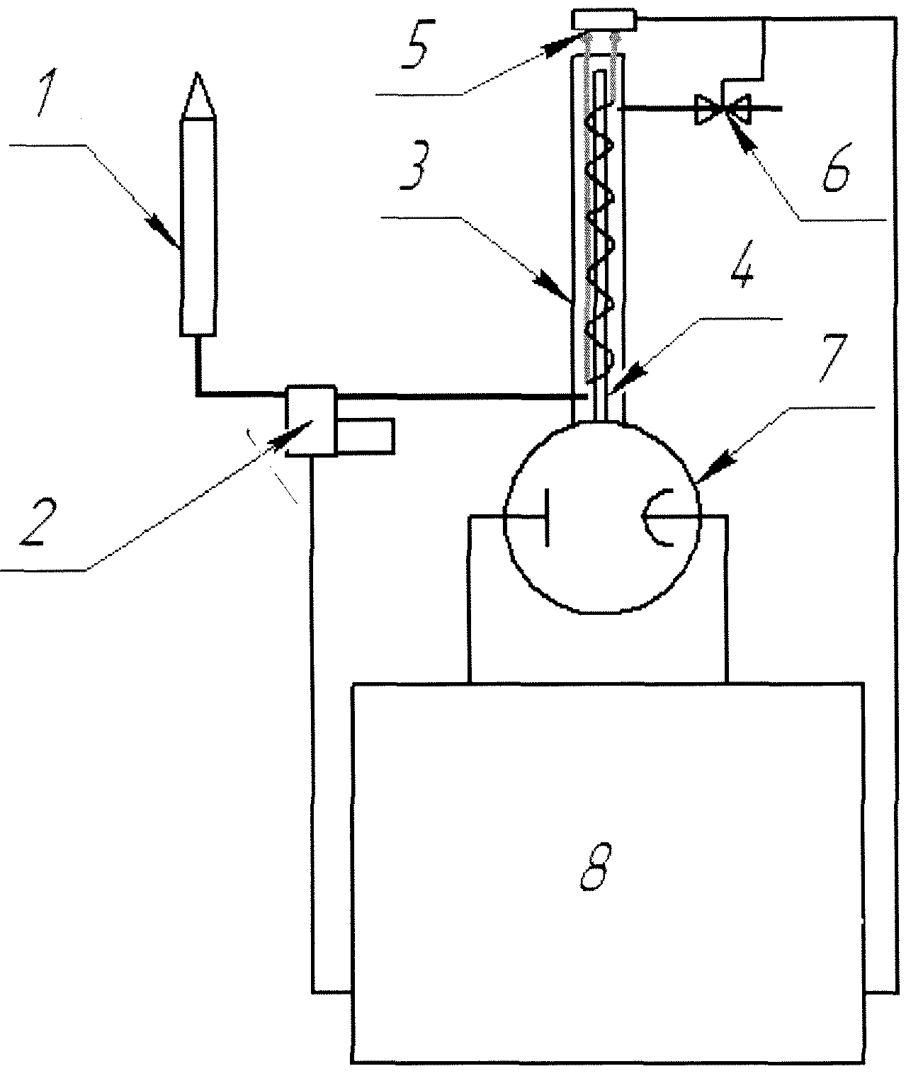
МАЛОГАБАРИТНЫЙ ГЕЛИЕВЫЙ ТЕЧЕИСКАТЕЛЬ. Патент № RU 137377 МПК G01M3/04 ...

Виды течеискателей и их возможности. Гелиевый течеискатель и его ...

Гелиевые теческатели. Течеискатели ТИ1 50, ASM , ПТИ - Промышленные ...

Течеискатель гелиевый масс-спектрометрический ТИ1-50

Течеискатель гелиевый NHJ400-L IRV-В003-001: цены, модели ...

Гелиевый течеискатель ПТИ-10

Масс-спектрометрический течеискатель ПТИ-10 / Хабр

Вакуум оборудование | Оборудование для промышленности. Термическое ...

Разновидности течеискателей. Гелиевый течеискатель, галоидный ...

Гелиевый течеискатель Ulvac Heliot 901W1 с масляным насосом 30 л/мин

  • Вперед Оцифровка чертежей в компас удаленная работа вакансии
  • Назад Спортивный бассейн проект

Новые страницы

38155 Бисер чехия

Airbus a321 271nx схема салона

Гелиевый течеискатель пти 10

Готовый творческий проект по технологии 6 класс для мальчиков карандашница

Как лечить скарлатину

Как нарисовать канеки кена поэтапно карандашом

Карта ст архангельской тихорецкого района

Карта втб армия россии личный кабинет как зайти

Кт827 характеристика

Локомотив арена новосибирск схема зала с местами фото

Мастер классы спорт

Настройка усилителя звука

Образец калькуляции себестоимости продукции

Отели в китае цены

Парк краматорск

Павел кудрявцев

Плед из ализе пуффи плетенка схема расчет и описание

Пролактин повышен симптомы лечение

Регулировка сцепления чери амулет

Схема как правильно

Схема реактивной мощности

Сочинение на тему как я провожу свое свободное время 6 класс

Спортивные добавки и их применение

Справка по алиментам для приставов образец

Tarkett tech3s aquastop ламинат

Труба пнд диаметр 20

Установка кассы атол 30ф

Взгляни ка на эту трехцветную фиалку в глиняном

W210 не крутит стартер

Забор из металлочерепицы своими руками

cdn.zecar.ru