Skip to content

Фотогалерея

  • Главная
  • Контакты

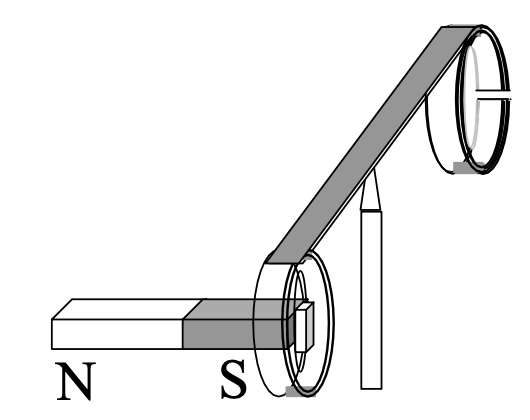
Если полосовой магнит выдвигать из сплошного кольца то справа от кольца возникнет

Магнит полосовой демонстрационный (пара) | Лаборатории под ключ

Один раз полосовой магнит падает сквозь неподвижное металлическое ...

ВПР / Физика / 8 класс / 08 задание / 60

Постоянные магниты. Магнитное поле постоянных магнитнов - online ...

Задание №54279: На рисунке изображен момент демонстрационного ...

В какую сторону движется магнит указанный на рисунке

Если полосовой магнит разломить на три части, как показано на рисунке 1 ...

Если полосовой магнит разломить на три части, как показано на рисунке 1 ...

Если полосовой магнит разломить на три части, как показано на рисунке 1 ...

Электромагнитная индукция - презентация онлайн

Магнит полосовой лабораторный 2шт.

Магнитное поле Земли: что это такое, как создается, значение

Лабораторная работа № 4. Наблюдение действия магнитного поля на ток

Магнитное поле - презентация онлайн

Как делают постоянные магниты?

Презентация на тему: "1 Явление электромагнитной индукции 2 ...

Ответы Mail: Полосовой магнит разделили на две равные части и получили ...

На рисунке представлена картина линий магнитного поля от двух полосовых ...

Презентация на тему: "Электромагнитное поле § 1. Магнитное поле и его ...

По проводнику расположенному перпендикулярно плоскости рисунка течет ...

Через катушку индуктивности с замкнутыми выводами пропускают полосовой ...

Магнит полосовой демонстрационный (пара) | uk-1.ru

Демонстрационный полосовой магнит | УЧЕБНОЕ ОБОРУДОВАНИЕ

Как вы считаете, если в опыте, изображенном на рисунке 99 учебника ...

Презентация на тему: "ЕГЭ по Физике 10 апреля 2013 г. Ольга Яковлевна ...

Магнитное поле. Правило правой руки | Физика ЕГЭ | Дзен

  • Вперед Слово ничего картинка
  • Назад Как поменять сайлентблоки на ваз 2114

Новые страницы

Что понимают под схемой

Dcr010505u

Электросети вязьма

Гдз контурная карта история россии 9 класс арсентьев

Гигантская змея в красном море

Golf 3 sport

Как настраивать эквалайзер для наушников

Как правильно фотографироваться на море в купальнике позы

Как выглядит атермальная тонировка

Как восстановить аккумулятор с разрывом цепи

Лечение стенокардии напряжения

Манука мед

От каких величин зависит магнитный поток

Пропала искра ваз 2109 инжектор

Распиновка разъема эбу лачетти

Регулировка спинки сидения ваз 2114

Шахматы на двоих

Штисель сериал

Смеситель душевой

Спорт 1974

Sport nation теннис

Спортивная юбка

Стенд для проверки дизельных форсунок своими руками из домкрата чертежи

Свинина халяль

Уравнение диссоциации карбоната натрия

В чем особенность строения растительной клетки

Вагоноуважаемый вагоноуважатый

Wago 773 173 характеристики

Заявление об изменении графика работы по инициативе работника образец

Железноводск дворец культуры

cdn.zecar.ru