Skip to content

Фотогалерея

  • Главная
  • Контакты

Электромагнитный манометр

Электроконтактный манометр (ЭКМ) – цена на манометры с ...

Electromagnetic Flow Meter:: DN80 Flange options, Rubber Liner (PTFE ...

Манометры коррозионностойкие виброустойчивые с электроконтактной ...

Промышленные исполнения манометров, мановакуумметров и вакуумметров ...

Манометр Росма ПКБ АРМА ТМ-510Р - выгодная цена, отзывы, характеристики ...

Манометр Манотомь ПКБ АРМА МП-2 УЗ в Ростове-на-Дону - купить, цены ...

МП4-Ум манометр(0-16 кгс/см2) - Manokip.uz

Манометры дм 2010 схема подключения

Электроконтактный манометр, цена на электроконтактные манометры ...

Правила установки технических манометров на трубопроводе - Promdevelop

Манометры Росма — datchiki.com

Манометры — Технические - Манометр МП2-Уф

Манометры Общетехнические С Сертификатом Рм

Технический манометр Росма подключение снизу тип ТМ серии 510Р 0-0,6 ...

Манометри ДМ 05-01 | Steklopribor.com

Манометр углекислотный 1,0 мПа купить оптом за 149 руб./шт. в Ростове ...

Манометры ДМ 05

Манометр радиальный Росма 10 бар, 1/4\" в Москве – купить по низкой цене ...

Манометр МТ – Беларусский автоклав с электронным термометром

Манометры для измерения давления

Класс точности манометра: как узнать, что обозначает, как расчитать

Манометр МП-100 1.6 МПа G1/2\" — Магазин сантехники Водяной

Манометр купить в Киеве, Украина | Цены в АРС-Теплоконтроль

Манометры повышенной точности кл.т.0,6 с/без гидрозаполнения

Манометр, Мановакуумметр М-1/4

Манометр фото

Манометры образцовые, эталонные (условная шкала) - НПО Юмас

Манометр — из чего состоит? Виды и типы

Манометр радиальный ДМ 93 виброустойчивый 1/2' 100мм / 0-10 бар METER ...

Манометры гидравлические - ИПГ \"Энерпром\"

Манометр МТ-100 1,0 МПа (G 1/2 дюймовая )

Манометры технические для промышленного оборудования

Манометры промышленные диаметром 100мм, 160мм - НПО Юмас

Насосы и з/ч : Манометр SKYBEAR 55PSI (3.9 ATM)

Манометры гидравлические - лучшая цена в Киеве?

Как выбрать манометр для измерения давления в шинах автомобиля

Манометр гидравлический 60 МРа(600 kg/cm.2) - Инструмент и оборудование ...

Редуктор + манометр+ электромагнитный клапан+счетчик пузырьков-W01-03

Манометр - Чертежи, 3D Модели, Проекты, Теплоснабжение

Манометр для доильных аппаратов (Турция) купить в Красноярске ...

Архив Электродвигатель калорифера SM90L тепловоза ЧМЭ: 7 000 грн ...

Манометр 0,4 МПа, ацетилен: снят с производства ПТК 001.050.806

Манометр радиальный Росма ТМ-610Р.00 00000006967

Цифровой электронный манометр шинный с ЖК-дисплеем. Манометр жк ...

СЕРИЯ WFB | Winner-RF

Манометр с мембранной коробкой, для низких диапазонов давления, медный ...

Манометр цифровой ЖК дисплей 7 АТМ, купить, цена 785, APR-D-04

Манометр ДМ 05063 в Ростове-на-Дону

Предохр. термостат отходящих газов 70 С (датчик тяги) (Артикул: JJJ ...

Манометр авиационный МА-100 - Чертежи, 3D Модели, Проекты, Гидравлика и ...

Манометр газовый ТМ-210Р.00 (0-0,6 МПа) М12х1,5. 2,5. С3Н8| «РЦК»

Напоромеры (Манометры низких давлений) | Электромодуль

Манометр с подсветкой своими руками - Diodnik

Манометр 100 незаполненный | Газовое оборудование и запчасти

Принципиальные схемы газовых систем питания ГБА (Газобаллонное ...

Предохр. термостат отходящих газов 70 С (датчик тяги) (Артикул: JJJ ...

Манометр для механических тонометров

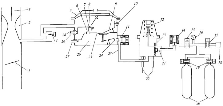
Пневматическое оборудование троллейбуса 9ТР-21, Устройство и ...

Кожух на манометр, пропан

Датчик расхода+ ZJ-lcd-M регулятор расходомера+ клапан солениода ...

Купить Фитинг под манометр с вращающейся гайкой | «Промкомплект»

Манометр-расходомер 40/1: продажа, цена в Киеве. манометры от \"4WELD ...

Манометр со шлангом малый (16 атм.) купить по низким ценам в интернет ...

Манометр 5 Атм СИЛА, цена 49 грн — Prom.ua (ID#1070269281)

Манометр бойлера o 57 мм 0?2,5 атм., 475094010 купить по цене 1899 руб ...

Датчик протока ГВС 21000605000800 Neva Lux - Котлы колонки плиты ремонт ...

  • Вперед Как готовить паэлью
  • Назад Гдз по русскому языку страница 116 номер 246

Новые страницы

Антибиотики при простуде у взрослых список

Дом символизма прохождение в картинках

Допуски на моторные масла

Экспорт в страны снг

Если к обеим частям уравнения прибавить или из них вычесть по одинаковому числу то получится

Как нарисовать тоналку

Как смазать вилку сцепления на ваз 2110

Карта уфо с областями

Мамисон горнолыжный курорт проект

Метро водный стадион на схеме метро москвы

Музыка доктор албан иц май лайф

Наклейка g2 esports

Новости салавата спорт

Образец пояснения в налоговую по заработной плате ниже мрот

Образец записи увольнения по собственному желанию в трудовой книжке 2022 году образец

Образец заявления на алименты в твердой денежной сумме 2023

Программы вышивка крестом бесплатные схемы

Рабочая программа внеурочной деятельности спортивно оздоровительные

Распиновка исо разъема магнитолы

Рисунок помощь детям

С днем рождения надежда владимировна картинки красивые с пожеланиями

Scania s730

Селятино спортивная 1

Школа tumo

Тюнинг петрозаводск

Услуги по сборке

Установка куба для воды на даче

Водные технологии куйбышевский район передать показания счетчиков воды без регистрации

Yandex toyota

Железнодорожный вокзал в геленджике

cdn.zecar.ru