Skip to content

Фотогалерея

  • Главная
  • Контакты

Двигателем стирлинга

Двигатель Стирлинга: устройство и принцип работы — FiNE NEWS

Модель двигателя Стирлинга HB22 – Smoking Colt по цене 31000 ₽ в ...

Тепловая машина Двигатель Стирлинга | Синтезгаз

Генератор с двигателем стирлинга для дома - 97 фото

Генератор с двигателем Стирлинга. Generator with Stirling engine. - YouTube

Генератор с двигателем стирлинга для дома - 97 фото

Механизмы с двигателем Стирлинга 】 Заказать в Каталоге Элитных Подарков

Генератор с двигателем Стирлинга - YouTube

Танк с двигателем стирлинга | Пикабу

Генератор с двигателем стирлинга для дома - 97 фото

Экспериментируем с двигателем Стирлинга - YouTube

Генератор с двигателем стирлинга для дома - 97 фото

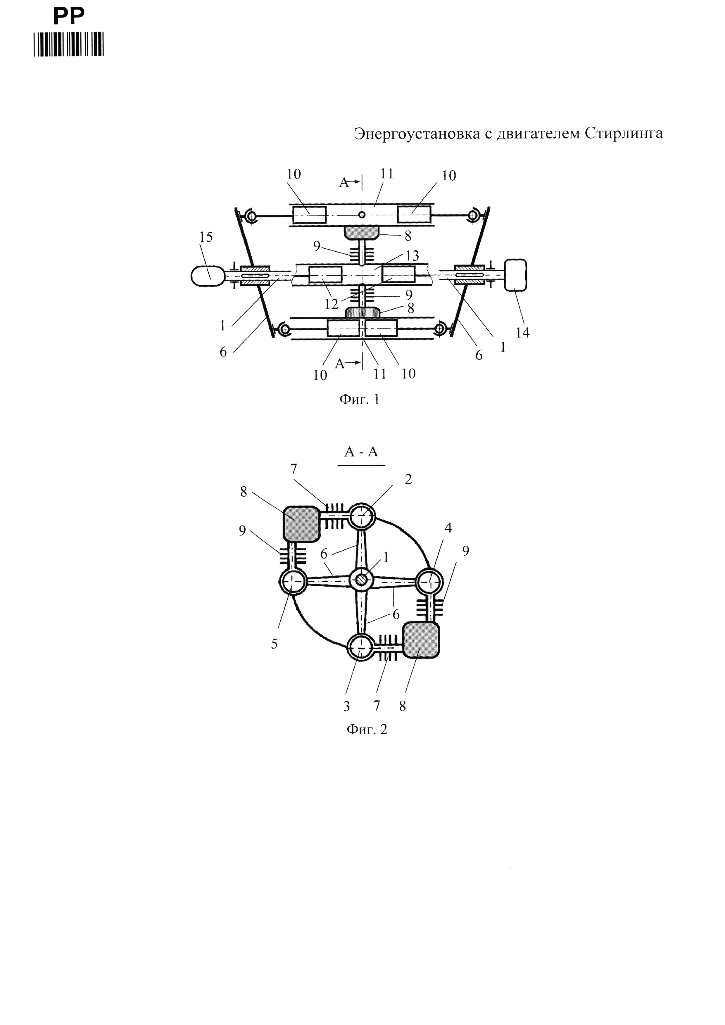
ЭНЕРГОУСТАНОВКА С ДВИГАТЕЛЕМ СТИРЛИНГА. Патент № RU 151039 МПК F02G1 ...

ЭНЕРГОУСТАНОВКА С ДВИГАТЕЛЕМ СТИРЛИНГА. Патент № RU 151039 МПК F02G1 ...

Автомобиль с двигателем стирлинга Gakken, Япония купить в Москве ...

Сборка машинки с двигателем стирлинга - YouTube

Модель машинки с двигателем стирлинга - YouTube

Генератор с двигателем стирлинга для дома - 97 фото

Генератор с двигателем стирлинга для дома 84 фото

Генератор с двигателем стирлинга для дома 84 фото

Генератор с двигателем стирлинга для дома 84 фото

Модель "Механизм силовой судовой установки с двигателем Стирлинга ...

Генератор с двигателем Стирлинга | Пикабу

Генератор с двигателем Стирлинга | Пикабу

Генератор с двигателем стирлинга для дома 84 фото

Делаем двигатель стирлинга своими руками. Как сделать двигатель ...

Генератор на любом топливе с двигателем стирлинга | Пикабу

Купить недорого Машина с двигателем Стирлинга в интернет магазине ...

Генератор с двигателем стирлинга для дома - 97 фото

Двигатель Стирлинга внешнего сгорания (Устройство двигателей ...

Двигатель Стирлинга. Model of the Stirling engine with your own hands ...

Багги с двигателем Стирлинга - YouTube

Опыт с двигателем Стирлинга! | Давай покажу как - YouTube

Танк с двигателем Стирлинга - YouTube

Двигатель Стирлинга.Model of the Stirling engine with your own hands ...

  • Вперед Как отличить motul оригинал от подделки
  • Назад Интегральные схемы микропроцессоры

Новые страницы

Джубга красивые места

Еврейские песни слушать онлайн бесплатно

Физическая карта австралии по охвату территории относится к группе карт

Гдз по английскому языку 7 класс страница 99 номер 5

Гигрома стопы лечение

Громкоговоритель картинка для презентации

Калькулятор ток мощность

Маршрут 96 тольятти схема движения с остановками

Огэ по математике 2024 9 класс тренировочные

Отличие вольного стиля от кроля

Первые фабрики

Пищит ремень генератора

Подключение эквалайзера к усилителю

Пожарная машина лего схема

Проект коттеджей и домов

Прямоугольник вписанный в треугольник

Различия бензинового и дизельного двигателя

Рисунок верблюд по координатам 10 2

Роквул 100

Схема орфографии

Схема узор круг крючок

Снятие бачка омывателя

Составить схему практической деятельности

Sports writing

Технологическая карта урока по окружающему миру 2 класс ориентирование на местности школа россии

Валдай снять квартиру

Vvprofitness youtube

Замена сальника коробки передач

Заменить батарею на huawei

Значение слова клоун в плане оскорбления

cdn.zecar.ru