Skip to content

Фотогалерея

  • Главная
  • Контакты

Арбалет своими руками схема и размеры

Арбалет своими руками схема и размеры. Конструкция блочного арбалета чертежи. Чертеж блочного арбалета с размерами. Блочный арбалет конструкция. Устройство арбалета в домашних условиях с чертежами.

Арбалет своими руками схема и размеры. Чертеж блочного арбалета с размерами. Кинематическая схема блочного арбалета.

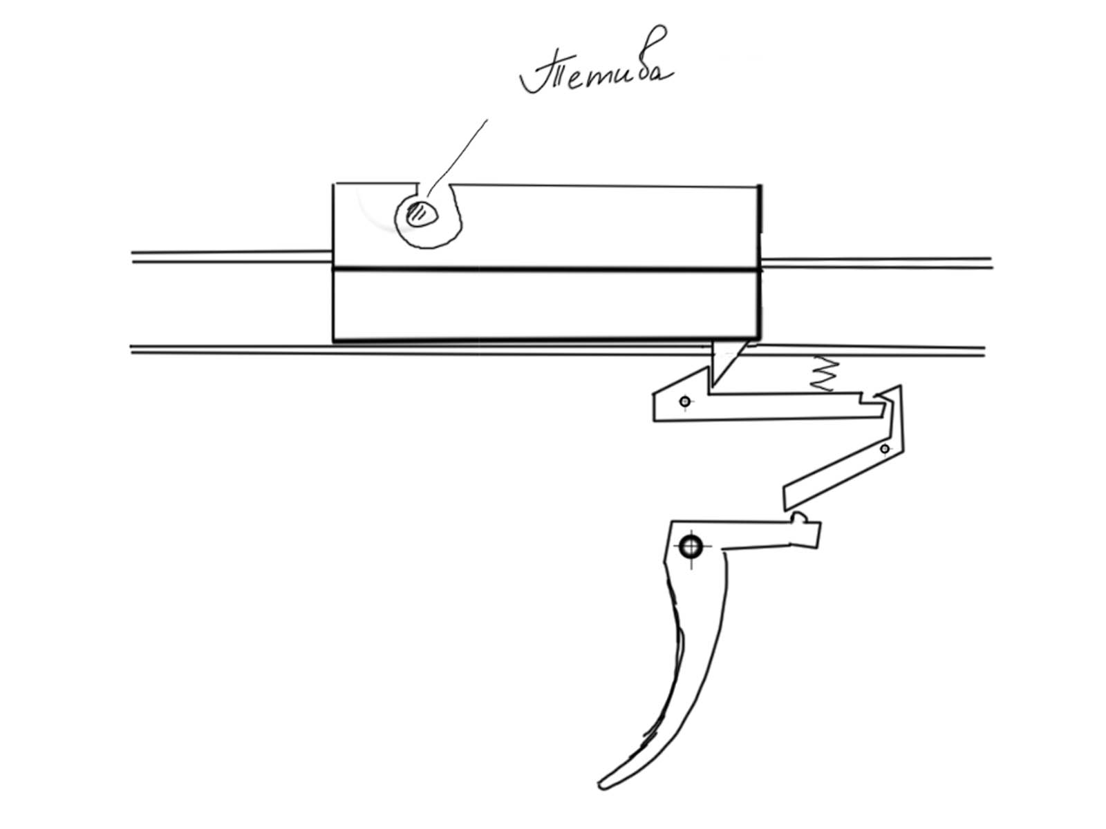
Арбалет своими руками схема и размеры. Схема средневекового арбалета. Как изготовить арбалет в домашних условиях чертежи. Схема средневекового арбалета чертежи. Спусковой механизм средневекового арбалета.

Арбалет своими руками схема и размеры. Чертеж блочного арбалета с размерами. Схема спускового механизма арбалета. Спусковой механизм для арбалета чертежи с размерами. Конструкция блочного арбалета чертежи.

Арбалет своими руками схема и размеры. Конструкция блочного арбалета чертежи. Устройство блочного арбалета чертежи. Пусковой механизм для арбалета чертеж. Самодельный блочный арбалет чертеж.

Арбалет своими руками схема и размеры. Ложе для арбалета чертеж. Чертеж цевья арбалета. Арбалет своими руками чертежи с размерами из дерева. Арбалет деревянный чертеж.

Арбалет своими руками схема и размеры. Схема блочного лука. Блоки блочного лука чертеж. Схема натяжения тетивы блочного лука. Блоки для арбалета чертежи.

Арбалет своими руками схема и размеры. Чертеж блочного арбалета с размерами. Чертежи блочного арбалета. Устройство блочного арбалета чертежи. Блочный арбалет чертежи блоков.

Арбалет своими руками схема и размеры. Арбалет мк150 чертёж. Схема блочного арбалета. ЧОКОНУ арбалет чертежи. Самодельный блочный арбалет чертеж.

Арбалет своими руками схема и размеры. Схема блочного арбалета. Чертежи блочного арбалета. Блочный арбалет чертежи блоков. Чертеж блочного арбалета с размерами.

Арбалет своими руками схема и размеры. Рукоятка арбалета чертеж. Стрелы для арбалета чертеж. Чертеж блочного лука из дерева. Чертежи арбалета и лука.

Арбалет своими руками схема и размеры. Чертеж цевья арбалета. Рычажный взвод арбалета чертежи. Самодельный блочный арбалет чертеж. Арбалет Низова чертежи.

Арбалет своими руками схема и размеры. Спусковой механизм для арбалета чертежи. Арбалет пистолетного типа чертежи. Конструкция спускового механизма для арбалета. Спусковой механизм для арбалета чертежи с размерами.

Арбалет своими руками схема и размеры. Чертеж блочного арбалета с размерами. Конструкция блочного арбалета чертежи. Арбалет мк150 чертёж. Арбалет пистолетного типа чертежи.

Арбалет своими руками схема и размеры

Арбалет своими руками схема и размеры. Арбалет Низова чертежи. Строение арбалета вид сбоку. Чертеж цевья арбалета. Арбалетный лук из рессоры чертежи.

Арбалет своими руками схема и размеры. Арбалет пистолетного типа чертежи. Схема арбалета пистолетного типа. Триггеры подводных арбалетов чертежи. Составные части арбалета.

Арбалет своими руками схема и размеры. Китайский многозарядный арбалет схема. Арбалет Низова чертежи. ЧОКОНУ арбалет чертежи. Рычажный взвод арбалета чертежи.

Арбалет своими руками схема и размеры. Рычажный взвод арбалета чертежи. Устройство блочного арбалета чертежи. Арбалет чертеж вид сбоку. Чертеж многозарядного арбалета.

Арбалет своими руками схема и размеры. Чертеж блочного арбалета с размерами. Чертежи блочного арбалета. Самодельный блочный арбалет чертеж. Рукоятка арбалета чертеж.

Арбалет своими руками схема и размеры. Чертеж цевья арбалета. Средневековый арбалет чертежи. Конструкция средневекового арбалета чертежи. Ложе для арбалета чертеж с размерами.

Арбалет своими руками схема и размеры

Арбалет своими руками схема и размеры. Блочный арбалет чертежи блоков. Чертеж цевья арбалета. Чертеж блочного арбалета с размерами. Самодельный блочный арбалет чертеж.

Арбалет своими руками схема и размеры. Чертеж блочного арбалета с размерами. Чертеж цевья арбалета. Ложе для арбалета чертеж с размерами. Арбалет Низова чертежи.

Арбалет своими руками схема и размеры. Чертеж блочного арбалета с размерами. Самодельный блочный арбалет чертеж. Чертежи блочного арбалета. Колодка для арбалета с обратными плечами чертежи.

Арбалет своими руками схема и размеры. Спусковой механизм средневекового арбалета. Средневековый арбалет чертежи механизма. Схема средневекового арбалета. Рычажный взвод арбалета чертежи.

Арбалет своими руками схема и размеры. Арбалет Низова чертежи. ЧОКОНУ арбалет чертежи. Мини арбалет чертеж. Схема натяжения блочного арбалета.

Арбалет своими руками схема и размеры. Рукоятка для блочного лука чертёж. Рукоять блочного лука чертеж. Чертеж блочного лука с размерами. Пружинно-блочный лук шорох чертеж.

Арбалет своими руками схема и размеры. Арбалет Низова чертежи. Рычажный взвод арбалета чертежи. Чертеж арбалета чертеж арбалет. Чертежи арбалетов сбоку.

Арбалет своими руками схема и размеры

Арбалет своими руками схема и размеры

Арбалет своими руками схема и размеры. Рычажный взвод арбалета чертежи. Блочный арбалет из дерева чертеж. Чертёж арбалета из дерева. Механизм заряжания арбалета.

Арбалет своими руками схема и размеры. Рукоять блочного лука чертеж. Рукоятка для блочного лука чертёж. Составной композитный лук чертеж. Чертеж составного лука.

Арбалет своими руками схема и размеры. Чертеж блочного арбалета с размерами. Самодельный блочный арбалет чертеж. Спусковой механизм для арбалета чертежи с размерами. Схема спускового механизма арбалета.

Арбалет своими руками схема и размеры. Ложе для арбалета чертеж с размерами. Ложе для арбалета чертеж. Приклад для арбалета чертежи. Схема пистолета арбалета.

Арбалет своими руками схема и размеры. Чертеж блочного арбалета с размерами. Чертежи блочного арбалета. Самодельный блочный арбалет чертеж. Арбалет пистолетного типа чертежи.

Арбалет своими руками схема и размеры

Арбалет своими руками схема и размеры. Чертеж цевья арбалета. Приклад для арбалета чертежи. Приклад для арбалета чертежи с размерами. Ложе для арбалета чертеж с размерами.

Арбалет своими руками схема и размеры. Конструкция блочного арбалета чертежи. Чертеж многозарядного арбалета. Устройство блочного арбалета чертежи. Арбалет мк150 чертёж.

Арбалет своими руками схема и размеры. Ложе буллпап для МР 512 чертеж. Чертежи приклада МР 512. Приклад на МР 512 под СВД чертеж. Приклад (ложа) МР-512 чертежи.

Арбалет своими руками схема и размеры. Беспоршневое подводное ружье чертеж. Схема подводного ружья пружинного. Чертеж блочного арбалета с размерами. Спусковой механизм для подводного ружья чертеж.

Арбалет своими руками схема и размеры. Блочный арбалет чертежи блоков. Арбалет Хортон чертежи. Чертежи блочного арбалета. Механизм взведения тетивы арбалета.

Арбалет своими руками схема и размеры. Чертеж многозарядного арбалета. Чертеж блочного арбалета с размерами. Чертеж цевья арбалета. Балестрино арбалет чертежи.

Арбалет своими руками схема и размеры

Арбалет своими руками схема и размеры. Самодельный блочный арбалет чертеж. Арбалет чертеж вид сбоку. Чертеж мощного арбалета. Чертеж цевья арбалета.

Арбалет своими руками схема и размеры. Чертеж блочного арбалета с размерами. Ложе для арбалета чертеж.

Арбалет своими руками схема и размеры. Арбалет Фокс спусковой механизм. Арбалет марки MK-150a1pbr спусковой механизм принцип действия. Арбалет Носова чертеж. Спусковой механизм для рогатки ружья.

Арбалет своими руками схема и размеры. Спусковой механизм для Crosman 1377 чертеж. УСМ арбалета чертеж. Арбалет спусковой механизм мк180. Спусковой механизм арбалета своими руками чертежи.

Арбалет своими руками схема и размеры. Чертеж блочного арбалета с размерами. Рычажный взвод арбалета чертежи. Арбалет пистолетного типа чертежи. Арбалет чертеж вид сбоку.

Арбалет своими руками схема и размеры. Чертеж блочного арбалета с размерами. Ложе для арбалета чертеж. Схема тетивы блочного арбалета. Конструкция блочного арбалета чертежи.

Арбалет своими руками схема и размеры. Устройство блочного арбалета. Блочный арбалет конструкция. Схема арбалета. Современный блочный арбалет чертеж.

Арбалет своими руками схема и размеры. Самодельный блочный арбалет чертеж. Чертеж блочного арбалета с размерами. Чертеж цевья арбалета. Блочный арбалет схема сборки.

Арбалет своими руками схема и размеры. Чертеж многозарядного арбалета. ЧОКОНУ арбалет чертежи. Арбалет мк150 чертёж. Чертеж арбалета чертеж арбалет.

Арбалет своими руками схема и размеры

Арбалет своими руками схема и размеры. Кинематическая схема арбалета. Устройство блочного арбалета чертежи. Чертежи блочного арбалета для изготовления своими руками с размерами. Арбалет чертежи для изготовления плеч.

Арбалет своими руками схема и размеры. Чертеж многозарядного арбалета. Спусковой механизм средневекового арбалета. Механизм средневековый арбалет. Арбалет своими руками в домашних условиях чертежи.

Арбалет своими руками схема и размеры. Механизм взведения тетивы арбалета. Рычаг для взведения тетивы арбалета. Конструкция средневекового арбалета. Механизм средневековый арбалет.

Арбалет своими руками схема и размеры. Арбалет чертеж вид сбоку. Чертеж цевья арбалета. Чертеж блочного арбалета с размерами. Арбалет Хортон чертежи.

Арбалет своими руками схема и размеры. Рычажный взвод арбалета чертежи. Чертеж блочного арбалета с размерами. Чертеж цевья арбалета. ЧОКОНУ арбалет чертежи.

Арбалет своими руками схема и размеры

Арбалет своими руками схема и размеры. Многозарядный арбалет Артемьева. Рычажный взвод арбалета чертежи. Затвор для арбалета. Repeating Crossbow арбалет.

Арбалет своими руками схема и размеры

Арбалет своими руками схема и размеры. Чертеж цевья арбалета. Спусковой механизм арбалета своими руками чертежи. Чертёж механизма арболета. Спусковой механизм для арбалета чертежи с размерами.

Арбалет своими руками схема и размеры. Арбалет чертеж вид сбоку. Чертеж многозарядного арбалета. Чертежи блочного арбалета. Чертеж блочного арбалета с размерами.

Арбалет своими руками схема и размеры. Блочный арбалет чертежи блоков. Чертеж блочного арбалета с размерами. Чертежи блочного арбалета. Арбалет Низова чертежи.

Арбалет своими руками схема и размеры

Арбалет своими руками схема и размеры

Арбалет своими руками схема и размеры. Самодельный блочный арбалет чертеж. Чертеж блочного арбалета с размерами. Арбалет Низова чертежи. Арбалет чертеж вид сбоку.

Арбалет своими руками схема и размеры. Ложе для арбалета чертеж. Арбалет резинкострел чертежи. Приклад АВП чертеж. Ложе арбалета схема.

Арбалет своими руками схема и размеры. Чертеж цевья арбалета. Чертеж многозарядного арбалета. Рычажный взвод арбалета чертежи. Механизм заряжания арбалета.

Арбалет своими руками схема и размеры. Китайский спусковой механизм арбалета. Спусковой механизм арбалета своими руками чертежи. Арбалет пистолетного типа чертежи. Спусковой механизм для арбалета чертежи.

Арбалет своими руками схема и размеры. Устройство арбалета схема. Арбалет Низова чертежи. Чертеж блочного арбалета с размерами. Конструкция арбалета чертежи.

Арбалет своими руками схема и размеры. Чертеж многозарядного арбалета. Чертеж ружья рогатки. Приклад для арбалета чертежи. Мини арбалет чертеж.

Арбалет своими руками схема и размеры. Арбалет чертеж вид сбоку. Чертеж арбалета чертеж арбалет. Чертеж блочного арбалета с размерами. Пусковой аппарат арбалета чертеж.

Арбалет своими руками схема и размеры. Спусковой механизм для арбалета чертежи с размерами. Спусковой крючок арбалета чертёж. Схема спускового механизма арбалета. Спусковые механизмы арбалетов чертежи и схемы.

Арбалет своими руками схема и размеры. Чертеж многозарядного арбалета. Китайский многозарядный арбалет чертежи. Пружинный арбалет чертежи. Затвор арбалета схема.

Арбалет своими руками схема и размеры. Принцип работы арбалета чертеж. Устройство арбалета схема. Устройство арбалета в домашних условиях с чертежами. Конструкция арбалета чертежи.

Арбалет своими руками схема и размеры. Гидропневматическое подводное ружье. Подводное ружье РПС 3 схема. Подводное ружье Yilmaz professional 45 чертежи. РПО-2 подводное ружье чертёж.

Арбалет своими руками схема и размеры. Рычажный взвод арбалета чертежи. Арбалет мк150 чертёж. Система рычажного взведения арбалета. Пружинный арбалет чертежи.

Арбалет своими руками схема и размеры. Рычажный взвод арбалета чертежи. Чертеж спускового механизма средневекового арбалета. Устройство средневекового арбалета чертежи. Механизм средневековый арбалет.

Арбалет своими руками схема и размеры. Схема, конструкция спускового механизма. Конструкция арбалета чертежи. Схема пускового устройства для арбалета самодельного. Конструкция спускового механизма для арбалета.

Арбалет своими руками схема и размеры. Арбелет патент 2011300116468.7. Пружинный арбалет чертежи. Механизм заряжания арбалета. Система рычажного взведения арбалета чертежи.

Арбалет своими руками схема и размеры. Приклад для арбалета чертежи. Чертеж приклада ИЖ 38. Ложе ИЖ 38 чертеж. Ложа ИЖ 38 чертёж.

Арбалет своими руками схема и размеры. Чертежи блочного арбалета. Механизм взведения тетивы арбалета. Конструкция блочного арбалета чертежи. Пусковой механизм для арбалета чертеж.

Арбалет своими руками схема и размеры. Арбалет Patent 200930127205.6. Блочный арбалет чертежи блоков. Чертежи блочного арбалета. Чертеж многозарядного арбалета.

Арбалет своими руками схема и размеры. Блочный арбалет чертежи блоков. Чертежи блочного арбалета. Пружинный арбалет чертежи. Рычажный взвод арбалета чертежи.

Арбалет своими руками схема и размеры. Блочный арбалет чертежи блоков. Схема натяжения тетивы блочного лука. Блоки блочного лука чертеж. Самодельный блочный арбалет чертеж.

  • Вперед Трубы отопительные
  • Назад Манометр для газового баллона

Новые страницы

Агро схема

Акт о выявленных дефектах в строительстве образец

Авиакомпания пегасус официальный сайт на русском

Combiset скачать

Дагмара доминчик

Dayz карта черноруссии на русском с лутом

Договор купли продажи участка с домом в снт образец

Евроспорт телепрограмма завтра

Fill in the gaps with will or be going to and the verbs in brackets

Фольксваген туарег электросхема

Как нарисовать лисичку гриб лисичку

Как называются картинки в ватсапе которые двигаются

Как снять панель на дэу матиз

Как снять подшипник с оси

Лесной кулик объект спортивной охоты

Мастер ремонт стиральных машин бош

Морские узлы схема вязки для начинающих

Нива шевроле ремень грм или цепь

Перегревается ваз 2106

Проаква труба

Прокат автомобилей в санкт петербурге без водителя

Прошу выдать справку 2 ндфл образец заявления

Проставки под стойки плюсы и минусы

Резистор на 300 ом

Рисунок девочка на велосипеде легко

Сколько поясов в киокушинкай

Спортмастер курск адреса

Течет антифриз пежо 308

Технологическая схема приготовления соусов

Www news sportbox ru

cdn.zecar.ru