Skip to content

Фотогалерея

  • Главная
  • Контакты

Apds 9930

Arduino and APDS-9930 sensor example - Arduino Learning

APDS-9930 - 深圳安盛宇电子有限公司

Arduino and APDS-9930 sensor example - Arduino Learning

MSD3108 APDS-9930 APDS-9931 TMD27723 TMD27713 TMD27711 手机三合一传感器专业代理商

Wiring the APDS 9930 Ambient Light Sense / APDS 9960 RGB Gesture Sensor ...

1 Set RGB Sensor Gesture APDS 9930 Proximity Sensor Module for Arduino ...

APDS-9930 Broadcom, APDS, 100mm 8-Pin | RS

Interfacing APDS-9930 Proximity and Ambient Light Sensor with Arduino

APDS 9900 APDS 9930 APDS 9960 Non contact detection of proximity and ...

Raspberry Pi - Gebaren en licht intensiteit sensor module (APDS-9930)

APDS-9930 ambient light and proximity sensor example - esp8266 learning

10PCS APDS 9930 CJMCU 9930 Proximity Sensor Approaching and Non Contact ...

APDS-9930/传感器-73781-深圳优信电子科技有限公司

Купить Датчик освещенности и приближения APDS-9930 Arduino/ESP ...

全新 APDS-9930 品牌 AVAGO/安华高 封装 FDN8 支持工厂BOM一片式配单服务_逻辑IC_维库电子市场网

APDS-9930/传感器-73781-深圳优信电子科技有限公司

APDS-9930-130_APDS-9930-130采购批发_APDS-9930-130中文资料_品牌参数引脚-深圳市讯顺达科技有限公司

APDS-9930 Broadcom/AVAGO | C2655117 - LCSC Electronics

APDS-9930 Digital Proximity and Ambient Light Sensor

全新 APDS-9930 品牌 AVAGO/安华高 封装 FDN8 支持工厂BOM一片式配单服务_逻辑IC_维库电子市场网

TZT 1PCS Non contact detection of proximity and gesture and posture RGB ...

Wiring the APDS 9930 Ambient Light Sense / APDS 9960 RGB Gesture Sensor ...

Free shipping APDS 9930 APDS9930 10pcs/lot 100%NEW and ORIGINAL-in ...

APDS-9930 Gesture Recognition Sensor - DIY Circuit Mall

Interfacing APDS-9930 Proximity and Ambient Light Sensor with Arduino

APDS-9930 Gesture Sensor

Arduino Uno + APDS9930 实现手势控制LED灯亮灭、调光等_apds9930手势识别-CSDN博客

10pcs -9930 APDS-9930 Proximity and Non Contact Gesture Recognition ...

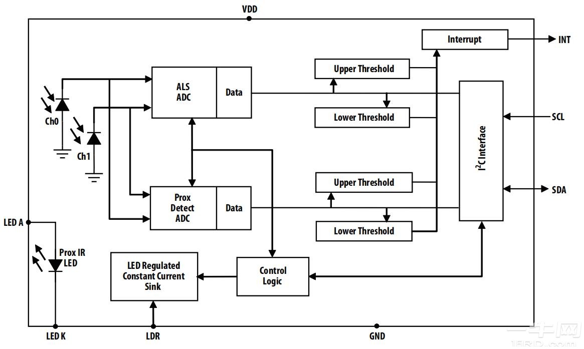
安华高APDS-9930 ALS+PS+IRLED三合一传感器datasheet-一牛网论坛

3pcs APDS-9930 ALS IR RGB and Proximity Sensor APDS-9930 Digital ...

Snímač polohy APDS-9930 | Návody Drátek

APDS-9930 Proximity Sensor Board in 2020 | Light sensor, Ambient ...

Подключение датчика освещенности и приближения APDS-9930 – RobotChip

APDS-9930/传感器-73781-深圳优信电子科技有限公司

Amazon.com: JESSINIE 5Pcs APDS-9930 ALS IR RGB Attitude Proximity ...

  • Вперед Учебник математика 4 класс 2 часть школа россии читать
  • Назад Ресторан мамалыга на энгельса

Новые страницы

Db25f

Донской тульская область достопримечательности

Фитнес браслет xiaomi band 5 купить

Физические спортивные сооружения

Гдз по контурным картам 8 класс история россии просвещение

Геката тату эскиз богиня

Инструкция по охране труда для сторожа 2023 по новым правилам образец

Как русифицировать бортовой компьютер

Карта ульяновка тосненского района с улицами и домами подробная

Кейт море

Когда неделя моды в милане

Лично командные спортивные игры

Луни тюнз персонажи имена с картинками

Монтаж газового оборудования в частном доме

Мшпу

Муфта переходная 40х25

Нарисовать бассейн пошагово

Николай батырев

Озеро ирбитское

Озеро лещевое

Приора конденсат в багажнике

Расход на метане

Регулировка клапанов ваз 2109 инжектор

Русский язык 2 класс учебник чуракова 3 часть ответы

Ситроен спейс турер или пежо тревеллер

Выписка из протокола образец

Водительские права фото образец

Яндекс мэйл ру

Заявление о переводе на полставки по инициативе работника образец

Журнал регистрации больничных листов образец рб

cdn.zecar.ru