Skip to content

Фотогалерея

  • Главная
  • Контакты

Антенна круговой поляризации

Антенна с круговой или с линейной поляризацией, что лучше для FPV ...

Антенна круговой поляризации 1,2 GHz TX FPV купить в Москве | Хобби и ...

Антенна круговой поляризации Omnidirectional на текстолите ...

Антенна круговой поляризации Boscam RP-SMA, клевер, 5.8G - BOS-RP-SMA ...

Антенна круговой поляризации Boscam RP-SMA, клевер, 5.8G - BOS-RP-SMA ...

Антенна круговой поляризации Boscam RP-SMA, клевер, 5.8G - BOS-RP-SMA ...

Антенна "клевер" круговой поляризации 1160MHz для ФПВ (комплект 2шт ...

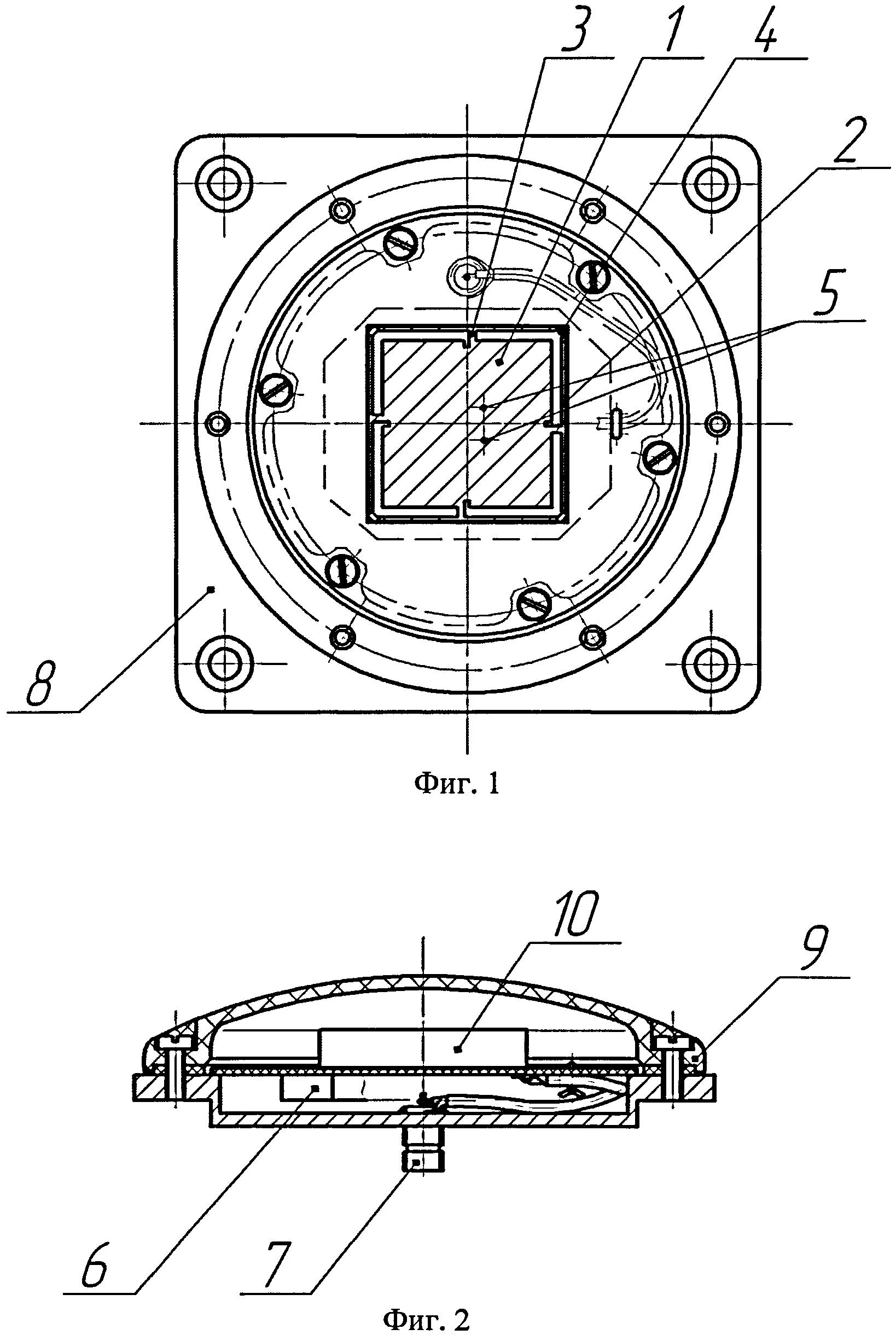
RU166256U1 - Антенна круговой поляризации квазишунтовой "клевер ...

Антенна круговой поляризации Omnidirectional на текстолите ...

Антенна круговой поляризации Omnidirectional на текстолите ...

RU116698U1 - Микрополосковая приемная активная антенна круговой ...

Антенна круговой поляризации Boscam RP-SMA, клевер, 5.8G - BOS-RP-SMA ...

RU81383U1 - Трехплечная вибраторно-кольцевая антенна круговой ...

Foxeer Lollipop V4 Plus 5.8G LHCP Antenna (Angle MMCX Tube Connector) 1pcs

Foxeer Lollipop V4 Plus 5.8G LHCP Antenna (RP-SMA Connector) 1pcs

Foxeer Lollipop V4 5.8G RHCP Antenna (Angle MMCX Connector) 1pcs

Книга: "Дроны с нуля" - Килби, Килби. Купить книгу, читать рецензии ...

Антенна UHF круговой поляризации NFC-9603R

Антенна UHF круговой поляризации NFC-9602R

КОМПАКТНАЯ МНОГОДИАПАЗОННАЯ МИКРОПОЛОСКОВАЯ АНТЕННА КРУГОВОЙ ...

Антенна Уда-Яги или волновой канал.Как она устроена и работает ...

Двухзеркальная параболическая антенна круговой поляризации по схеме ...

КОМПАКТНАЯ МНОГОДИАПАЗОННАЯ МИКРОПОЛОСКОВАЯ АНТЕННА КРУГОВОЙ ...

Патч антенна круговой поляризации - 3G-aerial

КОМПАКТНАЯ МНОГОДИАПАЗОННАЯ МИКРОПОЛОСКОВАЯ АНТЕННА КРУГОВОЙ ...

Купить Лучшие продажи fpv часть 5,8 ГГц облако дух круговой поляризации ...

Купить Лучшие продажи fpv часть 5,8 ГГц облако дух круговой поляризации ...

Клеверные антенны круговой поляризации

Антенна RFID циркулярной (круговой) поляризации DS RFID-8.5c

КОМПАКТНАЯ МНОГОДИАПАЗОННАЯ МИКРОПОЛОСКОВАЯ АНТЕННА КРУГОВОЙ ...

Патч Антенна Круговой Поляризации - spisoklosangeles

Расчет облучателя - Двухзеркальная параболическая антенна круговой ...

Купить Лучшие продажи fpv часть 5,8 ГГц облако дух круговой поляризации ...

Антенна RFID циркулярной (круговой) поляризации DS RFID-8.5c

Купити Triple Feed Patch-1 антенна 5,8 ГГц 9,4 dBi направленная ...

  • Вперед Кассовый чек на услуги образец
  • Назад Мазда расход топлива

Новые страницы

Алмазная резка бетона в москве

Англ раб тетрадь 4 класс

Антенна круговой поляризации

Canva образец резюме

Декоративная подушка крючком из плюшевой пряжи схема

Договор купли продажи велосипеда с рук образец

Экономический университет санкт петербург официальный сайт

Как написать прошение о помиловании президенту от матери образец

Какой врач лечит заикание

Карбюратор ваз 2108 устройство и регулировка

Keyless start mercedes

Магирус дойц 290 фото

Нервная и гуморальная регуляция

Обслуживание систем безопасности в москве

Отличие редукторного стартера от обычного

Пайсенд

Переходник коаксиальный

При повороте скрипит заднее колесо

Раннее зажигание ваз 2107

Распиновка разъема 15 pin

Ремонт в юзао

Рено логан схема

Сборка двигателя умз 4216

Семенов нижний новгород карта

Схема электропроводки газель 405 инжектор

Спортивный рядом со мной

Страница 94 номер 4 английский язык 5 класс

Трусы с рисунком волка

Устройство двигателя схема

Vw рязань

cdn.zecar.ru